EasyManua.ls Logo

Hitachi DH 40FA - Mantenimiento E Inspección

Hitachi DH 40FA
56 pages
Print Icon
To Next Page IconTo Next Page
To Next Page IconTo Next Page
To Previous Page IconTo Previous Page
To Previous Page IconTo Previous Page
Loading...
48
Español
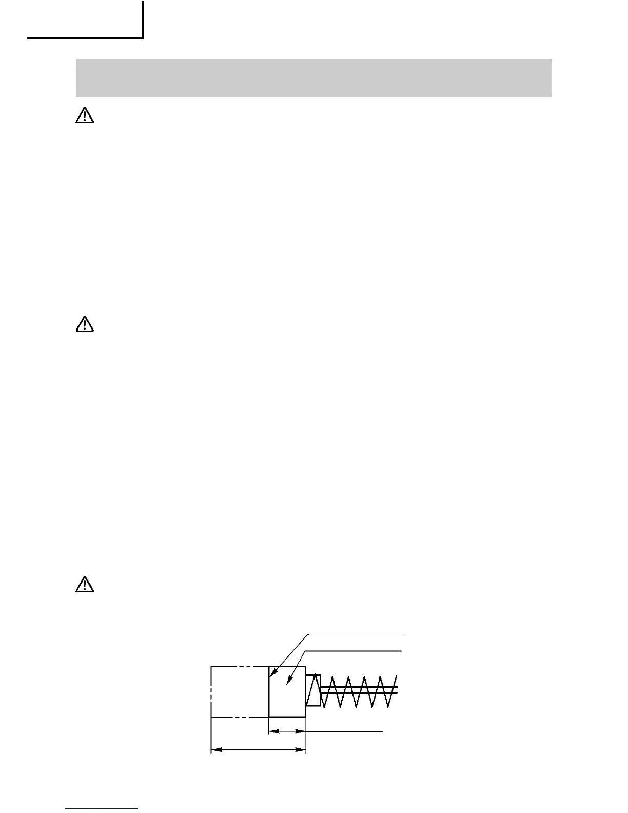
Fig. 17
Límite de desgaste
Núm. de escobilla
0,28" (7 mm)
0,67" (17 mm)
73
MANTENIMIENTO E INSPECCIÓN
ADVERTENCIA: Antes de realizar el mantenimiento o la inspección de la
amoladora, cerciórese de desconectar la alimentación y de
desenchufar el cable de alimentación del tomacorriente.
1. Inspeccionar la broca de taladro
Debido a que el uso de brocs desafiladas pueden causar mal funcionamiento
del motor y desmejorar la eficacia del taladro, hay que reemplazar las brocas en
malas condiciones por nuevas o afilarlas de inmediato al advertir abrasión.
2. Inspección de los tornillos de montaje
Inspeccione regularmente todos los tornillos de montaje y asegúrese de que
estén apretados adecuadamente. Si hay algún tornillo flojo, apriételo
inmediatamente.
ADVERTENCIA: La utilización de esta martillo giratorio con tornillos flojos
es extremadamente peligroso.
3. Mantenimiento de motor:
La unidad de bobinado del motor es el verdadero corazón” de las herramientas
eléctricas. Prestar el mayor cuidado y asegurarse de que el bobinado no se
dañe y/o se humedezca con aceite o agua.
4. Inspeccionar los escobillas de carbón (Fig. 17)
El motor emplea escobillas de carbón que son partes consumibles. Cuando se
gastan o están cerca del “limite de desgaste” pueden causar problemas al motor.
Al equiparse la escobilla de carbón de parada automática, el motor se detendrá
automáticamente en ese momento hay que proceder a cambiar ambas escobillas
de carbón por la nuevas, que tienen los mismos números de escobillas de carbón
como se muestra en la figura. Además siempre hay hay que mantener las
escobillas de carbón limpias y asegurarse de que se muevan libremente en sus
porta-escobillas.
PRECAUCIÓN: La utilización de esa pulidora con escobillas desgastadas más
allá del límite dañará el motor.

Related product manuals