EasyManua.ls Logo

Hitachi PSC-A32MN - Help Menu

Hitachi PSC-A32MN
774 pages
To Next Page IconTo Next Page
To Next Page IconTo Next Page
To Previous Page IconTo Previous Page
To Previous Page IconTo Previous Page
Loading...
4 Individual remote controls
PC-ARF
TCGB0106 rev.0 - 12/2014
109
4
4.1.4.5 Help menu
Menu navigation
The explanation of indicators on LCD and operations can be found in the help menu. The purpose of this function is to
support manual operation.
Refer to the following sections for more details.
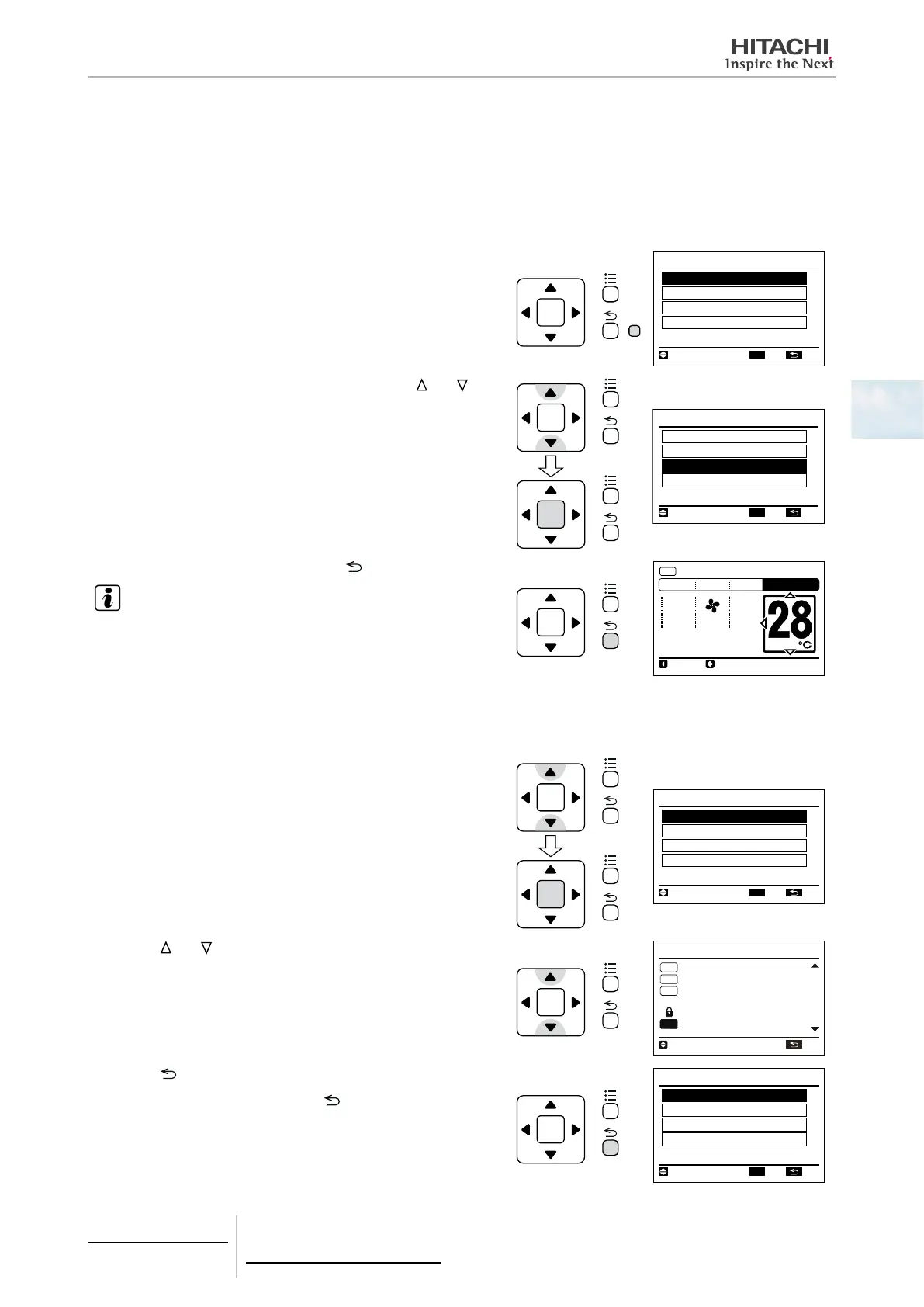
1 Press “?” (help). The help menu is displayed then.
OK
Help Menu
Contact Information
Troubleshooting
About Operation
About Indication
ENT
.R
TN.SEL.
OK
?
2 Select the item from the help menu by pressing “ ” or “ ” and
press “OK”.
OK
Help Menu
Contact Information
Troubleshooting
About Operation
About Indication
ENT
.R
TN.SEL.
OK
OK
3 To return to the normal mode, press “ ” (return).
NOTE
If the menu screen remains unchanged for approximately 10 minutes, the
screen will automatically return to the normal mode.
A/C
MODE SPEED TEMP
COOL
HIGH
SPEED ADJ
Meeting Room
OK
Indicators on LCD
This function is used when an explanation of each icon on LCD is required.
1 Select “About Indication” from the help menu and press “OK”.
The explanation of indicators on LCD is displayed.
OK
OK
OK
Help Menu
Contact Information
Troubleshooting
About Operation
About Indication
ENT
.R
TN.SEL.
2 Press “ ” or “ ” to scroll the text up and down.
About Indication
A/C
VENTI
UPDW
FLTR
Next Page
: Air Conditioning Operation.
: Ventilation Operation.
: Grille has not been correctly
positioned.
: Operation mode is locked.
: Clean Air Filter.
01
/
07
RTN.
OK
3 Press “ ” (return). The screen returns to the help menu.
To return to the normal mode, press “
” (return) again.
OK
Help Menu
Contact Information
Troubleshooting
About Operation
About Indication
ENT
.R
TN.SEL.
OK

Table of Contents

Other manuals for Hitachi PSC-A32MN

Related product manuals