EasyManua.ls Logo

Hitachi PSC-A32MN - Description of the Parts

Hitachi PSC-A32MN
774 pages
To Next Page IconTo Next Page
To Next Page IconTo Next Page
To Previous Page IconTo Previous Page
To Previous Page IconTo Previous Page
Loading...
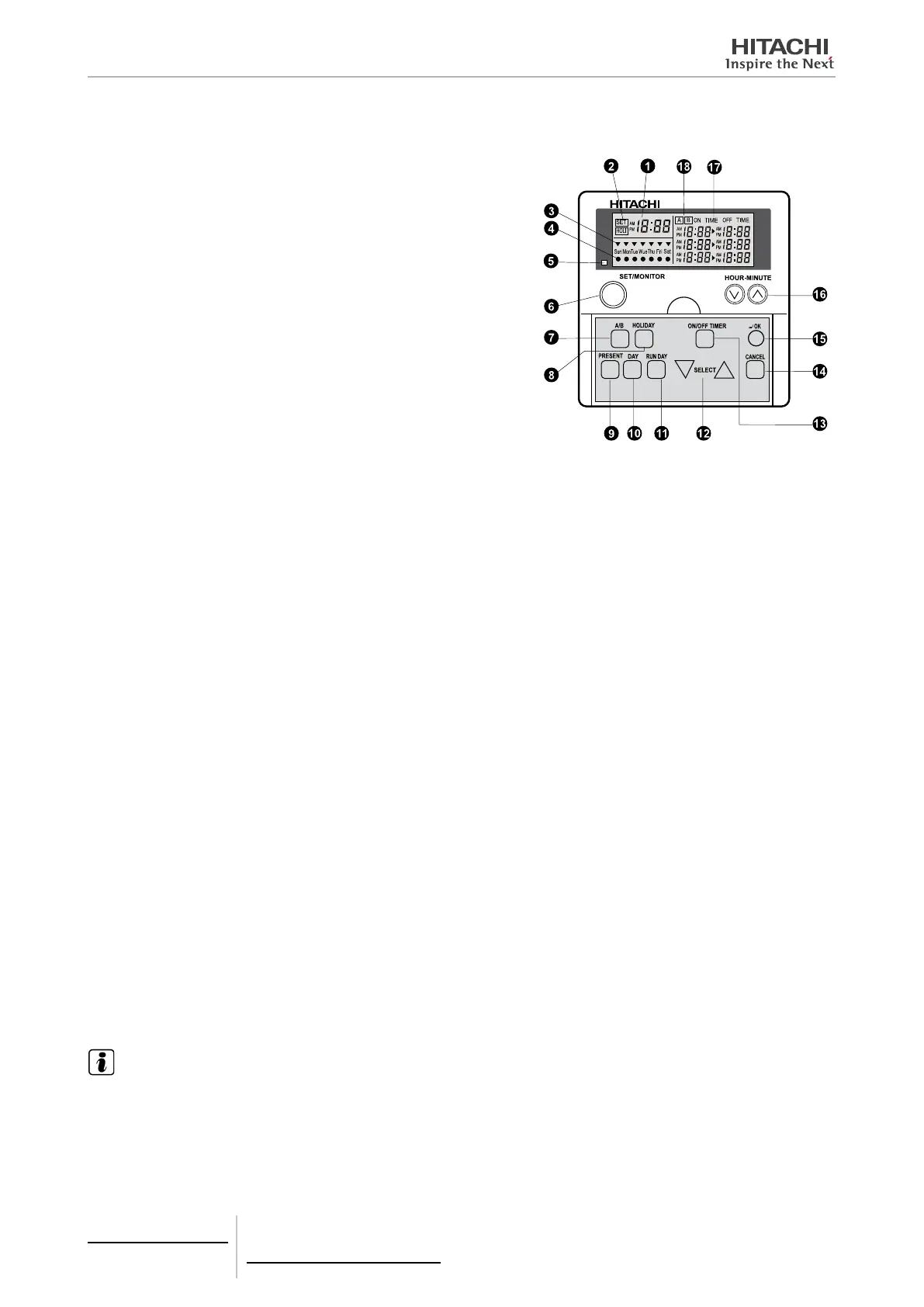
8.1.2.3 Description of the parts
Current time indicator.
Model: PSC-A1T
Time setting and holiday indication
Indicates the “SET” or “MONITOR” operation mode and the holiday.
Current day indications.
Run day indication.
This indicator appears when a day is set.
Run indicator (green pilot light).
“SET/MONITOR” operation mode selection button
When this button is pressed, the remote control timer switches to set-
ting mode, the "SET" indication will appear and the symbol will ash.
If pressed again, "SET" mode will switch off and the system will change
from setting mode to monitor mode.
A/B setting mode selection button.
Press this button to select the mode you wish to switch on (A or B).There
are two (2) modes (A and B) set for the weekly schedule. Each mode
can be set to “ON”/“OFF” three (3) times a day, seven days a week.
Holiday setting button.
By pressing this button, with the timer in setting mode ("SET"), the "HOLI" indication will appear and the selected day will be set
as a holiday. Pressing the button again cancels the holiday setting.
Current time setting button.
By pressing this button, the "SET" indicator and symbol will ash, allowing the user to set the current time.
Weekday setting button.
With the timer in setting mode ("SET"), use this button to select the weekday. By pressing this button, the symbol moves in
the order “Sun > Moon > ... > Sat”. Pressing "DAY" after "Sat" will select all marks. If pressed again, the symbol will return to
Sun.
"RUN DAY" setting button.
Pressing “RUN DAY”, will set the selected day as the run day and the
symbol will appear.
If pressed again, it will switch off and cancel the selected day.
“SELECT” setting selection button.
By pressing “SELECT”, the user can select element 1, 2 or 3 for both "ON TIME" and "OFF TIME".
“ON/OFF TIMER” setting selection button.
When the timer is in "SET" mode, pressing "ON/OFF TIMER", will switch the timer to the "ON/OFF" setting mode and the "ON
TIME" indication will ash.
Setting time “CANCEL” button.
By pressing this button when the timer is set, the "ON TIME" or "OFF TIME" indication will disappear.
“OK” button.
Pressing this button accepts the selected setting process.
“HOUR-MINUTE” setting button.
Pressing or with the timer in setting mode ("SET") adjusts the hours and minutes.
“ON TIME” and “OFF TIME” setting indication.
Indicates the setting conditions for the selected day.
Indication of weekly schedule mode (A or B).
NOTE
The present time and the ON/OFF setting time are indicated by 12 hours units (AM 0:00 – 11:59 /PM 0:00 – 11:59)
8 Control support devices
PSC-A1T
TCGB0106 rev.0 - 12/2014
696

Table of Contents

Other manuals for Hitachi PSC-A32MN

Related product manuals