EasyManua.ls Logo

Hitachi RAS-2HVRN2 - General Wiring Between Indoor and Outdoor Units

Hitachi RAS-2HVRN2
88 pages
Print Icon
To Next Page IconTo Next Page
To Next Page IconTo Next Page
To Previous Page IconTo Previous Page
To Previous Page IconTo Previous Page
Loading...
.DEHODQVFKOXVV

300/$UHY
'(876&+
$//*(0(,1(9(5.$%(/81*
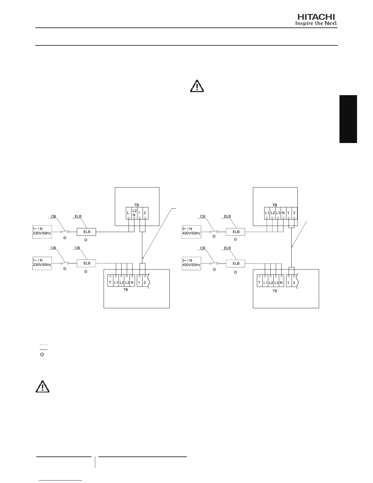
 .DEHODQVFKOXVV]ZLVFKHQ,QQHQXQG$XHQJHUlW
GHV/XIW:DVVHU:lUPHSXPSHQV\VWHPV
 9HUELQGHQ6LHGLHHOHNWULVFKHQ.DEHO]ZLVFKHQ,QQHQXQG
$XHQJHUlWZLHLPIROJHQGHQ'LDJUDPPGDUJHVWHOOW
 %HQXW]HQ6LHDEJHVFKLUPWHSDDUYHUVHLOWH.DEHOGLFNHUDOV
PPðIUGLH%HWULHEVNDEHO]ZLVFKHQ$XHQJHUlWXQG
,QQHQJHUlW
 %HQXW]HQ6LH]ZHLDGULJH.DEHOIUGLH%HWULHEVOHLWXQJYHU-
PHLGHQ6LHPHKUDOVGUHLDGULJH.DEHO
 %HQXW]HQ6LHEHLHLQHU.DEHOOlQJHYRQK|FKVWHQVPDE-
JHVFKLUPWH.DEHOIUGLH=ZLVFKHQNDEHOXPGLH*HUlWHYRU
(LQVWUDKOXQJHQ]XVFKW]HQXQGGHQ|UWOLFKHQ9RUVFKULIWHQ
]XHQWVSUHFKHQ
 :LUGHLQHGHU.DEHOIKUXQJHQQLFKWIUGLH$XHQYHUNDEH-
OXQJEHQXW]WNOHEHQ6LH*XPPLKOVHQDXIGLH%OHQGH
9 2 5 6 , & + 7
 6WHOOHQ6LHVLFKHUGDVV6LHHLQHQIHVW]XJHRUGQHWHQ6WURP-
NUHLVIUGDV,QQHQJHUlWYHUZHQGHQ9HUZHQGHQ6LHQLHPDOV
HLQHQ6WURPNUHLVGHUPLWHLQHUDQGHUHQ$QZHQGXQJ$XHQ-
JHUlWJHWHLOWZLUG
 %HDFKWHQ6LHGHQ$QVFKOXVVGHV%HWULHEVNDEHOV%HLIHKOHU-
KDIWHP$QVFKOXVVNDQQGLH3&%DXVIDOOHQ
 9RU 2UW EHVFKDIIWH $XHQYHUNDEHOXQJ XQG $XVUVWXQJHQ
PVVHQQDWLRQDOHQXQGLQWHUQDWLRQDOHQ9RUVFKULIWHQHQWVSUH-
chen.
RAS-3~6HVRNME-AF RAS-4~6HVRNME-AF
Indoor Unit
RWM-4~6FSN3E
Indoor Unit
RWM-3~6FSN3E
$XHQJHUlW
5$6+510($)
$XHQJHUlW
5$6+951
5$6+9510($)
%HWULHEVOHLWXQJ
DEJHVFKLUPWHV7RUVL-
RQVNDEHO
RGHUSDDUYHUVHLOWHV
.DEHO
9*6XQJHSROWH
hEHUWUDJXQJ
+/,1.6\VWHP
%HWULHEVOHLWXQJ
DEJHVFKLUPWHV7RUVLRQVNDEHO
RGHUSDDUYHUVHLOWHV.DEHO
9*6XQJHSROWHhEHUWUDJXQJ+/,1.
6\VWHP
,QQHQJHUlW
5:0)61(
,QQHQJHUlW
5:0)61(
7% $QVFKOXVVOHLVWH
&% 7UHQQVFKDOWHU
(/% (UGVFKOXVVVFKDOWHU
,QQHQYHUGUDKWXQJ
9RU2UW9HUNDEHOXQJ
1LFKWPLWJHOLHIHUW
 $XHQ,QQHQYHUELQGXQJ
9 2 5 6 , & + 7
'LH6WURPYHUVRUJXQJPXVVVHSDUDWDQGDV$XHQJHUlWXQGGDV,QQHQJHUlWDQJHVFKORVVHQZHUGHQ

Related product manuals