EasyManua.ls Logo

Hitachi SP18VA - MAINTENANCE AND INSPECTION; Inspecting Screws and Carbon Brushes; Cleaning and Servicing

Hitachi SP18VA
48 pages
Print Icon
To Next Page IconTo Next Page
To Next Page IconTo Next Page
To Previous Page IconTo Previous Page
To Previous Page IconTo Previous Page
Loading...
15
English
MAINTENANCE AND INSPECTION
WARNING: Be sure to switch power OFF and disconnect the plug from the
receptacle during maintenance and inspection.
1. Inspecting the screws
Regularly inspect all screws and ensure that they are properly tightened. Should any of
the screws be loosened, retighten them immediately.
WARNING: Using this electronic sander polisher with loosened screws is extremely
dangerous.
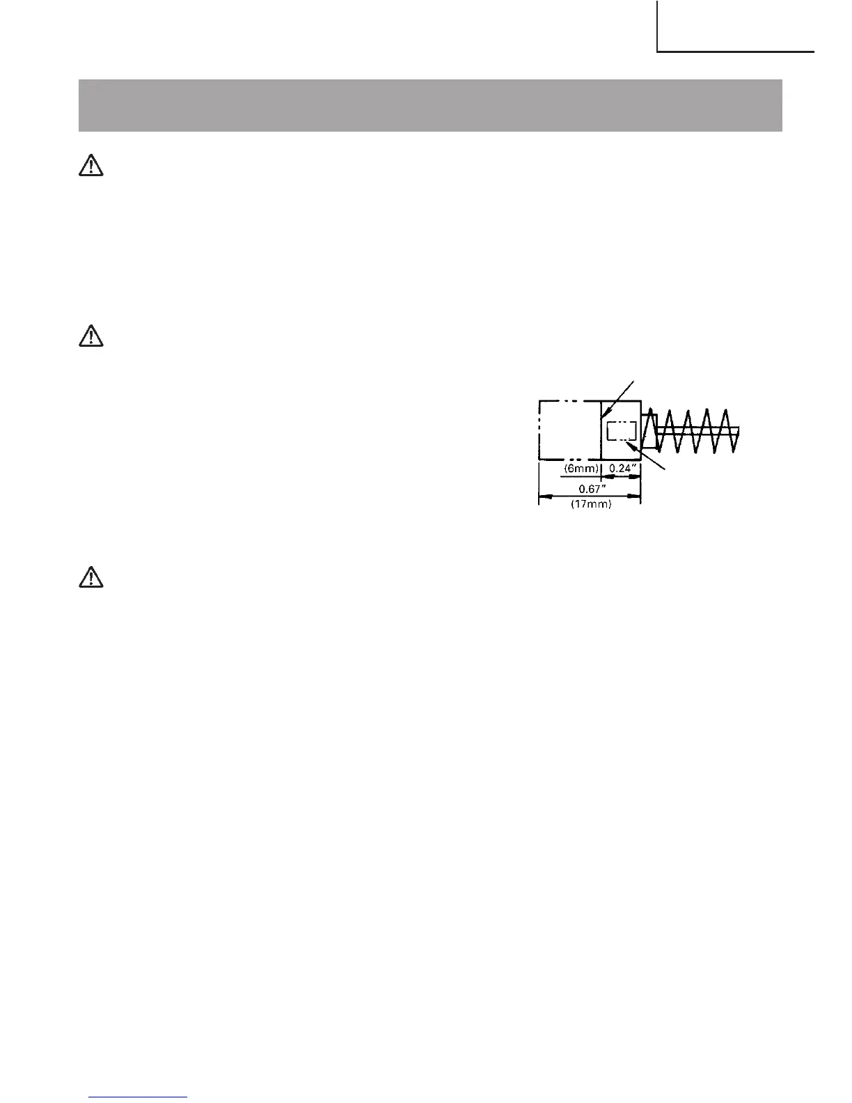
2. Inspecting the carbon brushes (Fig. 8)
The motor employs carbon brushes which are
consumable parts. Replace the carbon brush with a
new one when it becomes worn to its wear limit.
Always keep carbon brushes clean and ensure that
they slide freely within the brush holders.
CAUTION:
Using this electronic sander polisher with a carbon brush which is worn in excess of
the wear limit will damage the motor.
NOTE: Use HITACHI carbon brush No. indicated in Fig. 8.
Replacing carbon brushes:
Remove the brush caps (Fig. 1) with a slotted screwdriver. The carbon brushes can
then be easily removed.
3. Cleaning lock pin section
If the lock pin section becomes dirty, clean it at once.
4. Service and repairs
All quality power tools will eventually require servicing or replacement of parts because
of wear from normal use. To assure that only authorized replacement parts will be
used, all service and repairs must be performed by a HITACHI AUTHORIZED SERVICE
CENTER, ONLY.
Fig. 8
Wear limit
No. of carbon
43

Table of Contents

Related product manuals