EasyManua.ls Logo

Honeywell BendixKing KT 76C - Page 39

Honeywell BendixKing KT 76C
56 pages
Print Icon
To Next Page IconTo Next Page
To Next Page IconTo Next Page
To Previous Page IconTo Previous Page
To Previous Page IconTo Previous Page
Loading...
B ATCRBS TRANSPONDER KT 76C
Rev 3, May 2004 IM 006-10545-0003.dwd Page 2-23
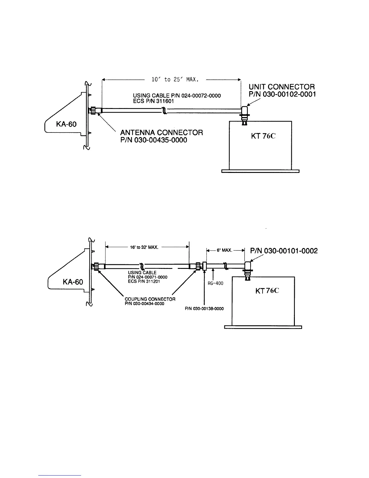
FIGURE 2-5 Acceptable Cable Connections Drawing
(Sheet 2 of 2)

Related product manuals