EasyManua.ls Logo

Honeywell Galaxy 504 - Modify User Level

Honeywell Galaxy 504
36 pages
To Next Page IconTo Next Page
To Next Page IconTo Next Page
To Previous Page IconTo Previous Page
To Previous Page IconTo Previous Page
Loading...
18
 
  

  
 


 

  
 

!
  
"  #$

 #$
% &'

 (
#'
ð
leveLytilibaliavAsseccA
0
drauGnoitporehtoon-yromemtneveehtotnideretnE
1
renaelCmetsysehttesylnonaC
2
rekateraCmetsysehttesnudnatesylnonaC
3sresU91-11snoitpOuneM
4sresU92-11snoitpOuneM
5sresU93-11snoitpOuneM
6
reganaM94-11snoitpOuneM
.snoitcnufunemotsseccaoN
.degnahcebtonnachcihwleveldexifasahedocreganamehT
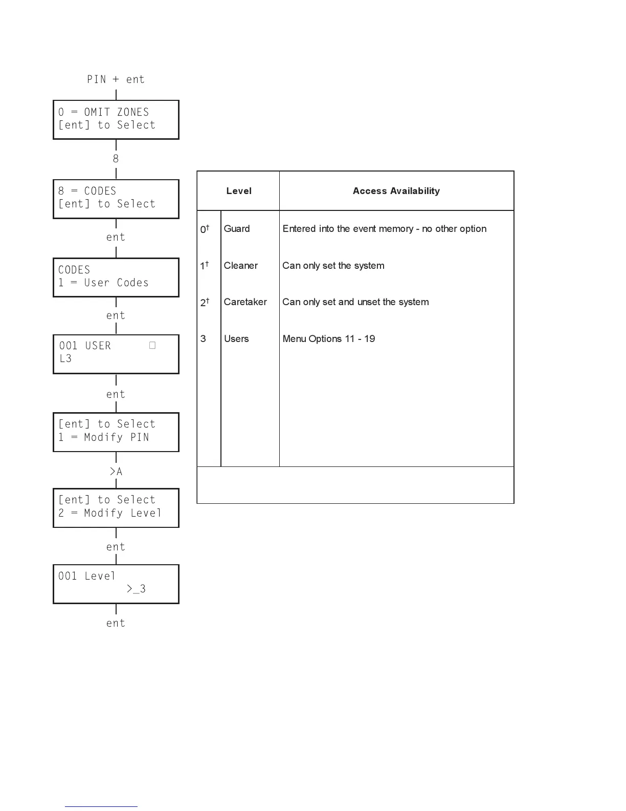
Modify Level
Each user is assigned an access level which determines the menu
options available to the user (see p.7, Table 1. Menu Options). On
selecting this option, enter the level to be assigned to the user and
press the ent key to accept the programming and return to the previous
menu level. See Table 2. User Access Levels, for access availability.
• Duress Code
1. Galaxy 18, 60, 128, 500, 504 and 512
If the # key is pressed while Modify Level is accessed, then the
current code is assigned as a Duress Code. There is no limit to the
number of codes which can be assigned as Duress. Entering a duress
code at any time activates outputs programmed as Duress or PA.
2. Galaxy 8, 18, 60, 128, 500, 504 and 512
Any valid PIN followed by # # ent (the ent key can be replaced by
either the A> or <B key) can be used as a Duress Code.
Table 2. User Access Levels

Table of Contents

Other manuals for Honeywell Galaxy 504

Related product manuals