EasyManua.ls Logo

Honeywell Heating Controller SDC - Page 49

Honeywell Heating Controller SDC
64 pages
Print Icon
To Next Page IconTo Next Page
To Next Page IconTo Next Page
To Previous Page IconTo Previous Page
To Previous Page IconTo Previous Page
Loading...
SDC / DHC Operation
EN2H-0220GE51 R1111 49
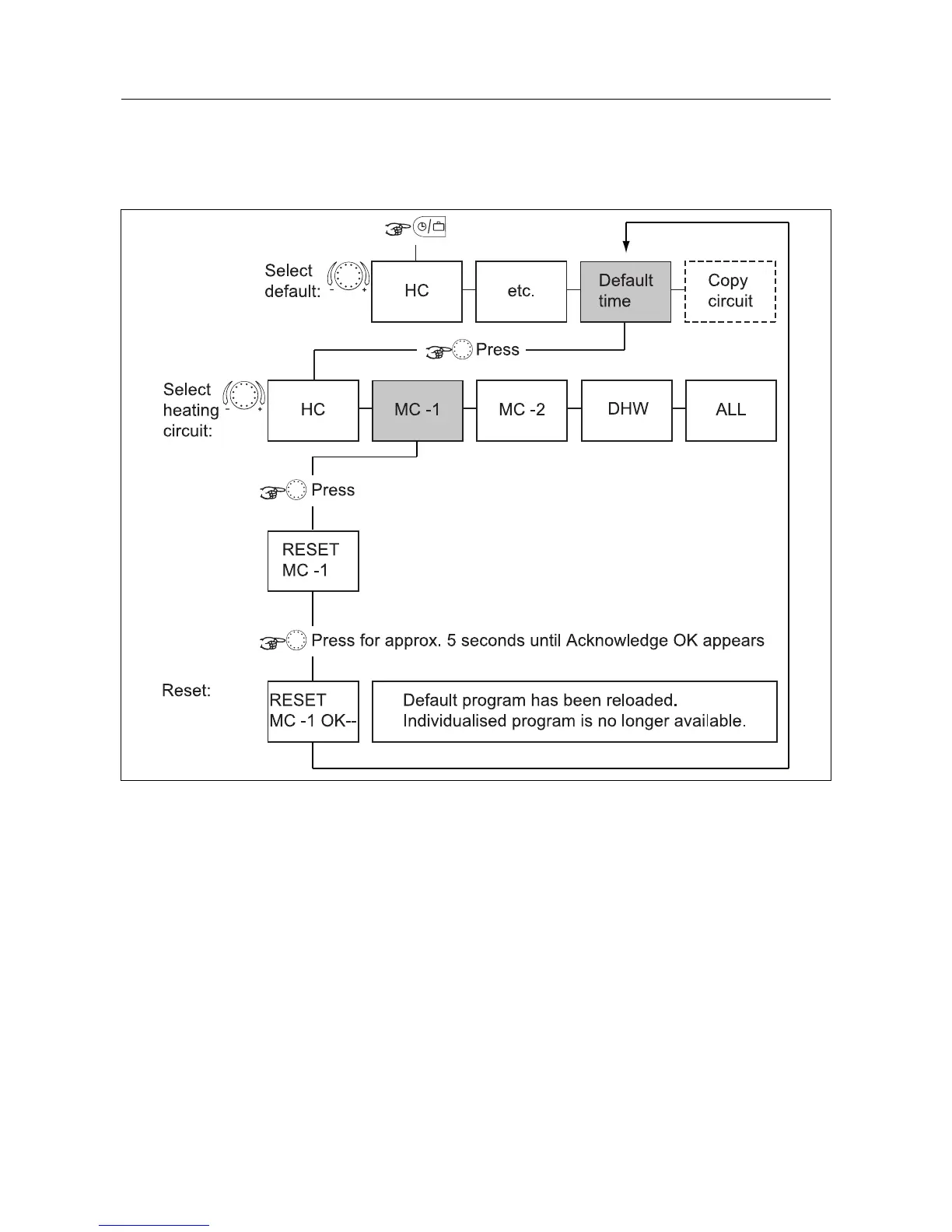
Reloading default programs
Switching time programs P2 and P3 disabled
HC Direct heating circuit
MC-1 Mixed heating circuit 1
MC-2 Mixed heating circuit 2
DHW Hot-water heating circuit

Related product manuals