EasyManua.ls Logo

Honeywell T8511G - WIRING; WIRING CAUTION; WIRING IMPORTANT NOTES

Honeywell T8511G
12 pages
Print Icon
To Next Page IconTo Next Page
To Next Page IconTo Next Page
To Previous Page IconTo Previous Page
To Previous Page IconTo Previous Page
Loading...
69-0961—4
2
MICROELECTRONIC HEAT PUMP THERMOSTAT
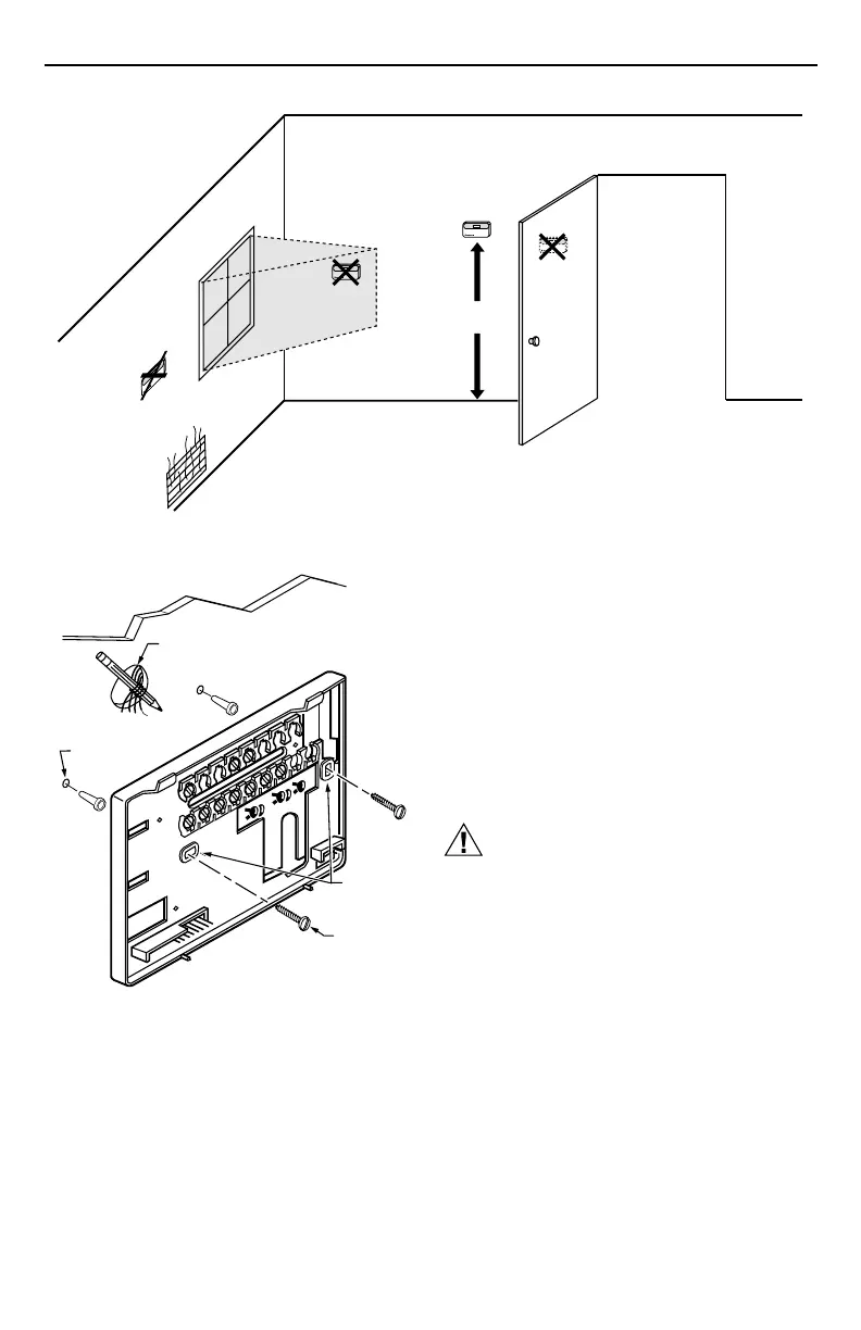
Fig. 1. Typical location of thermostat.
5 FEET
[1.5 METERS]
YES
NO
NO
NO
M10106
Fig. 2. Mounting the wallplate.
2. Use a pencil to mark the mounting holes. See
Fig. 2.
3. Remove the wallplate from the wall and drill two
3/16 inch holes in the wall (if drywall) as marked. For
firmer material such as plaster or wood, drill two
7/32 inch holes. Gently tap anchors (provided) into
the drilled holes until flush with the wall.
WIRES
THROUGH WALL
WALL
MOUNTING
HOLES
MOUNTING
SCREWS
M6530
WALL
ANCHORS
(2)
4. Position the wallplate over the holes, pulling wires
through the wiring opening.
5. Loosely insert the mounting screws into the holes.
6. Tighten mounting screws.
WIRING
All wiring must comply with local electrical codes and
ordinances. Refer to Fig. 3 through 5 for typical hookups.
A letter code is located near each terminal for
identification.
CAUTION
Electrical Shock or Equipment Damage Hazard.
Can shock individuals or short equipment
circuitry.
Disconnect power supply before installation.
1. Loosen the terminal screws on the wallplate and
connect the system wires. See Fig. 6.
IMPORTANT
Use 18 gauge, color-coded thermostat cable for
proper wiring.
2. Securely tighten each terminal screw.
3. Push excess wire back into the hole.
4. Plug the hole with nonflammable insulation to
prevent drafts from affecting the thermostat.

Related product manuals