EasyManua.ls Logo

Hotsy 1710 - Wiring Diagram 8

Hotsy 1710
48 pages
Print Icon
To Next Page IconTo Next Page
To Next Page IconTo Next Page
To Previous Page IconTo Previous Page
To Previous Page IconTo Previous Page
Loading...
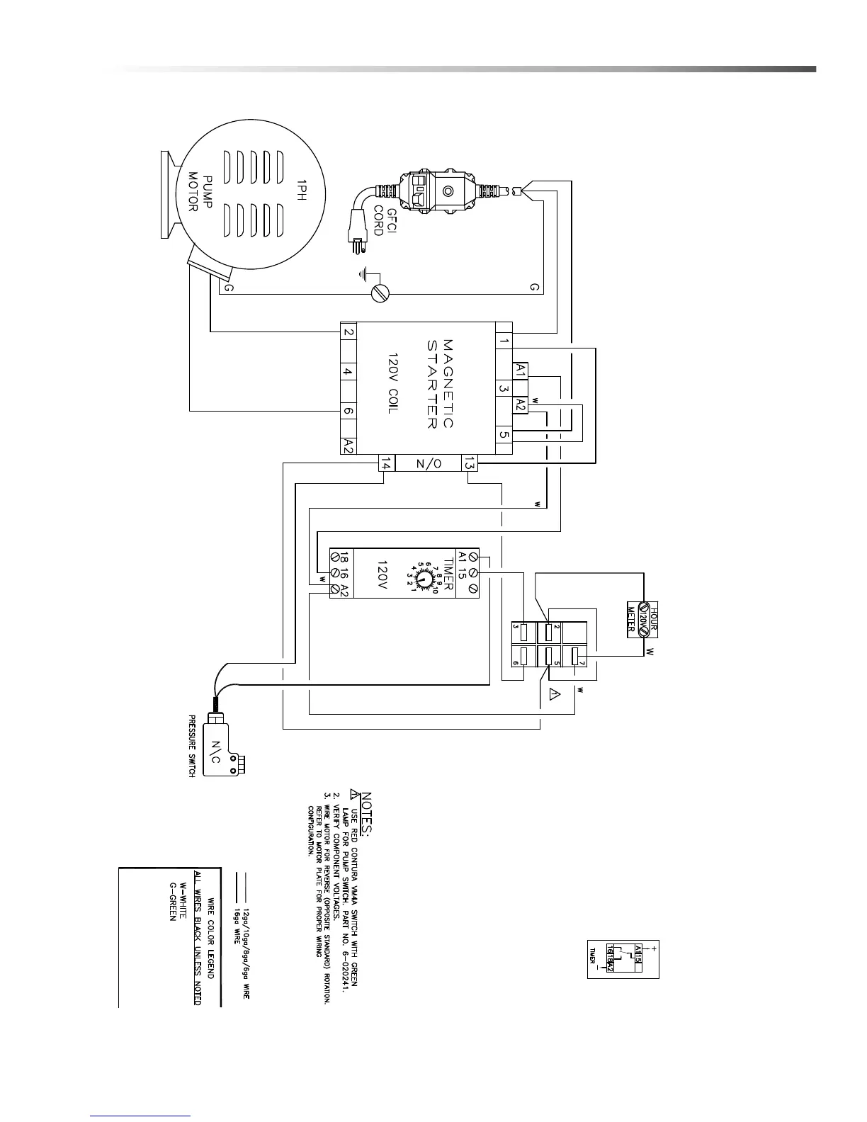
43Hotsy 1700 Operator’s Manual 8.914-380.0 - W
Wiring Diagram 8
Models 1720 w/Time Delay Shutdown

Other manuals for Hotsy 1710

Related product manuals