EasyManua.ls Logo

HP 300s+ - Page 56

HP 300s+
96 pages
Print Icon
To Next Page IconTo Next Page
To Next Page IconTo Next Page
To Previous Page IconTo Previous Page
To Previous Page IconTo Previous Page
Loading...
50
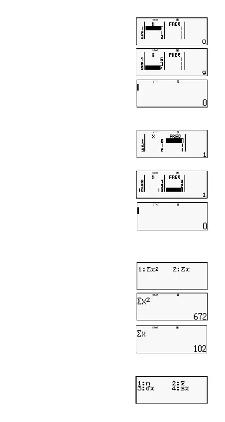
(STAT)(Edit)(Ins)
Edit the FREQ data to the following:
{1,2,1,2,2,2,3,4,2,1} (FREQ:ON)
(STAT) (Data)
Examples:
Calculate the sum of squares of the sample data and sum of
the sample data.
(STAT) (Sum)
()
(STAT) (Sum)
()
Calculate the number of samples, mean, and population
standard deviation.
(STAT) (Var)
x
2
x

Table of Contents

Related product manuals