EasyManua.ls Logo

HP 300s+ - Page 72

HP 300s+
96 pages
Print Icon
To Next Page IconTo Next Page
To Next Page IconTo Next Page
To Previous Page IconTo Previous Page
To Previous Page IconTo Previous Page
Loading...
66
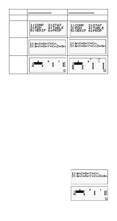
Simultaneous Linear Equations
1. Simultaneous Linear Equations with Two Unknowns:
a
1
x + b
1
y = c
1
a
2
x + b
2
y = c
2
2. Simultaneous Linear Equations with Three Unknowns:
a
1
x + b
1
y + c
1
z = d
1
a
2
x + b
2
y + c
2
z = d
2
a
3
x + b
3
y + c
3
z = d
3
Use the coefficient editor screen to input the coefficients of
an equation. The coefficient editor screen shows input
cells for each of the coefficients required by the currently
selected equation type.
When simultaneous linear equations with three unknowns
are selected as the equation type, the d column will not be
visible on the display when the coefficient editor screen is
first displayed. The d column will become visible when you
move the cursor to it, which causes the screen to shift.
Example: To solve the following equations x + 2y = 5 and 3x -
2y = 3 (x = 2, y = 1.5)
(EQN)
Two unknowns Three unknowns
KEY IN DISPLAY DISPLAY
or

Table of Contents

Related product manuals