EasyManua.ls Logo

HP 3490A - Page 276

HP 3490A
298 pages
Print Icon
To Next Page IconTo Next Page
To Next Page IconTo Next Page
To Previous Page IconTo Previous Page
To Previous Page IconTo Previous Page
Loading...
$i$
'EE
ll
tu'
_l
I
ur-l
F@+p+F%o
ro'_ro*+++++++++{
llt"'
ul
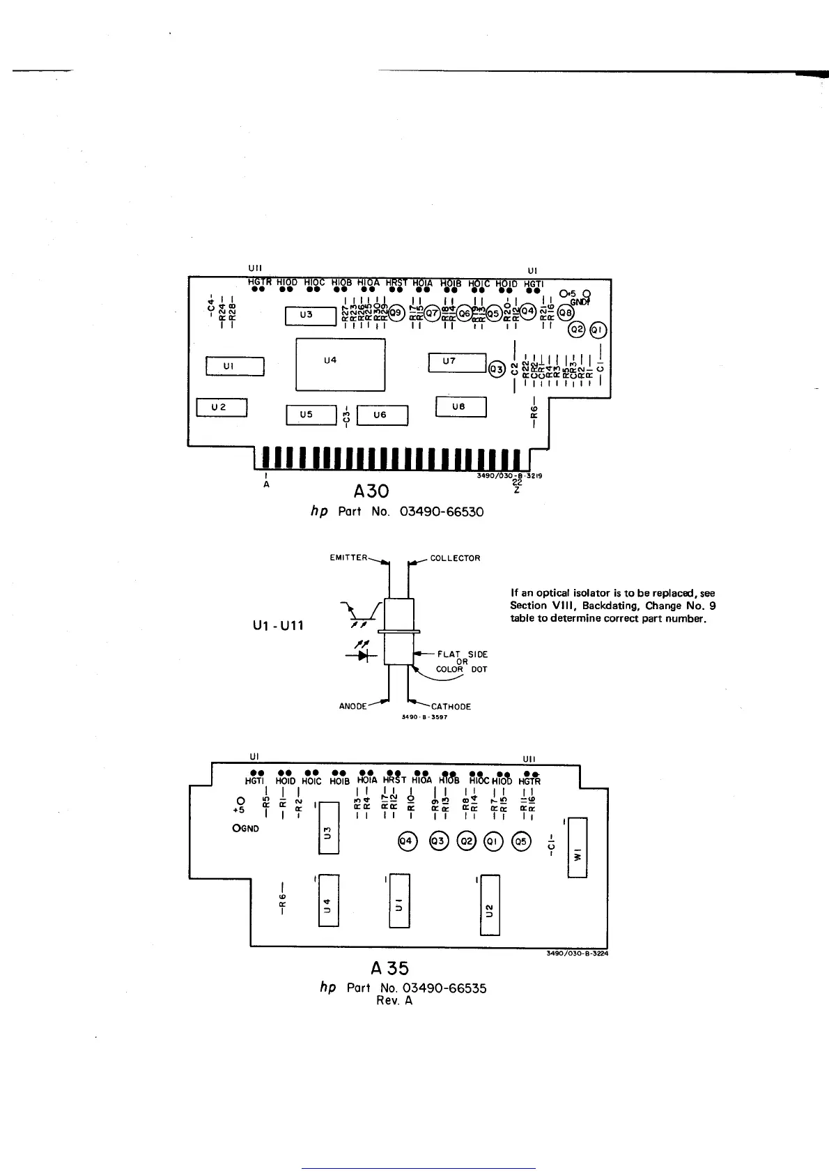
-u11
430
hp
Port No. 03490-66530
Port
No.03490-66535
Rev. A
lf an optical isolator is
to be
replaced,
see
Section Vlll, Backdating,
Change
No.
9
table
to
determine
correct
part
number.
CATHOOE
;3f?
'S?o
'ti. 'lä?
fr?o
x?E
'i6q *1Ee
fi'&
x?ot
'tr'n
.?
+++lr++
++
+++
++ ++ ++
ocND
[:J
@
@@@
@
+
435
hp
Get other manuals https://www.bkmanuals.com

Table of Contents