EasyManua.ls Logo

HP 85662A - Page 50

HP 85662A
594 pages
Print Icon
To Next Page IconTo Next Page
To Next Page IconTo Next Page
To Previous Page IconTo Previous Page
To Previous Page IconTo Previous Page
Loading...
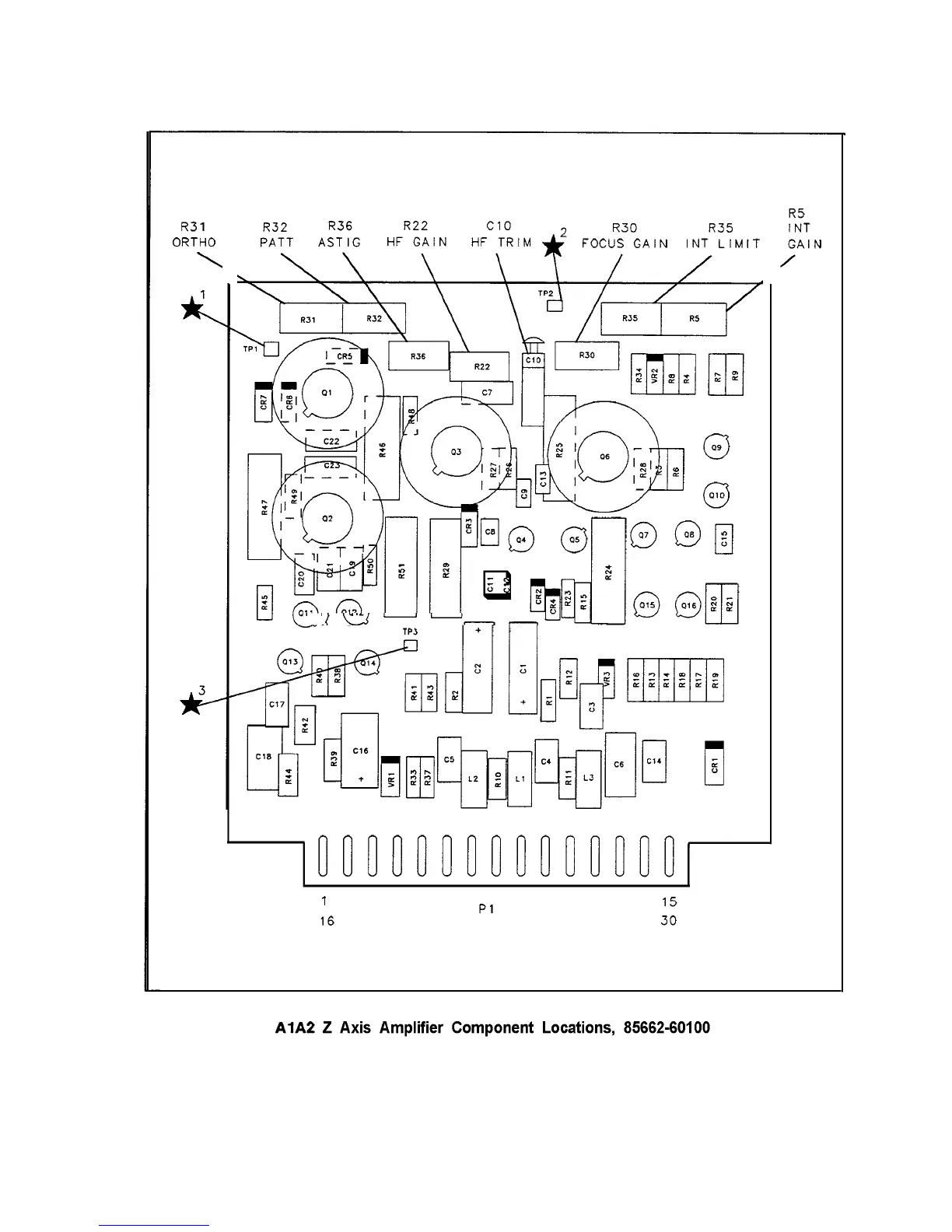
R31
ORTHO
R32 R36 R22 C10
PATT ASTIG HF GAIN HF TRIM
R5
R30 R35 INT
FOCUS GAIN INT LIMIT GAIN
/
A1A2 Z Axis Amplifier Component Locations, 85662-60100

Related product manuals