EasyManua.ls Logo

HP LaserJet 5L - Page 161

HP LaserJet 5L
204 pages
To Next Page IconTo Next Page
To Next Page IconTo Next Page
To Previous Page IconTo Previous Page
To Previous Page IconTo Previous Page
Loading...
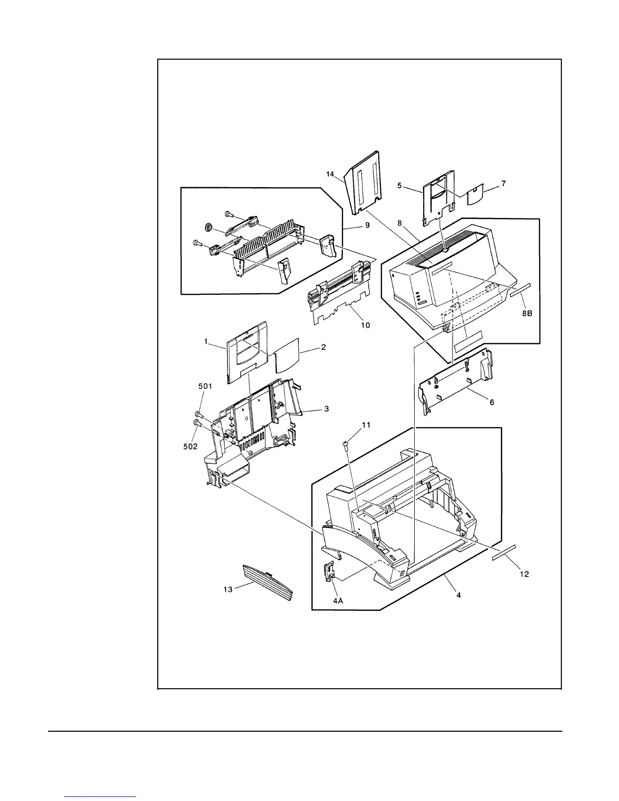
Covers and Doors
Figure 8-2
8-8 Parts and Diagrams

Related product manuals