EasyManua.ls Logo

HP LTO-6 Ultrium FH SAS - 3 Installing an external tape drive; External SCSI installation

HP LTO-6 Ultrium FH SAS
28 pages
To Next Page IconTo Next Page
To Next Page IconTo Next Page
To Previous Page IconTo Previous Page
To Previous Page IconTo Previous Page
Loading...
3 Installing an external tape drive
This chapter describes how to connect your tape drive to an external port on the host controller or
new HBA.
You will need a cable to connect the tape drive to the external port. The SAS tape drive has an SFF-8088
port. Check with the manufacturer for recommended cables suitable for your server's SAS port.
Connecting an external SCSI tape drive
Check the SCSI ID
The LTO tape drive is shipped with a default SCSI ID of 3. Each device on the SCSI bus must have an
unique SCSI ID number. The drive can be assigned any unused ID between 0 and 15. Do not use SCSI
ID 7, which is reserved for the SCSI controller. SCSI ID 0 is typically assigned to the boot disk and
should also not be used unless the tape drive is on a dedicated SCSI bus.
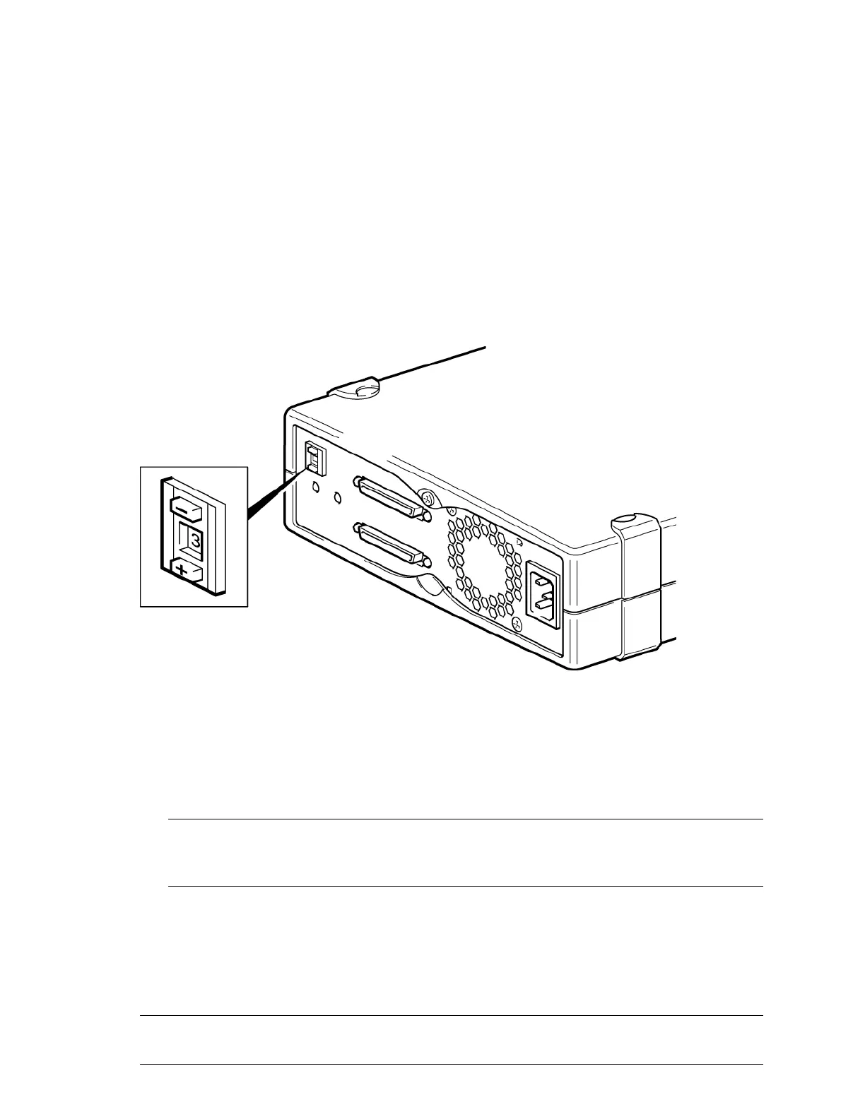
Figure 12 Setting the SCSI ID
1. Determine whether you need to change the SCSI ID from the default of 3.
2. Change the tape drive's SCSI ID, if necessary.
Use a small screwdriver or a ball-point pen to press the indented SCSI ID selector buttons on the
rear panel until the required value is displayed. Do not use a pencil because small bits of graphite
could contaminate the drive.
NOTE: The server and the tape drive SCSI IDs are only checked at power-on. To change the
SCSI ID after installation, power down both the server and the tape drive, change the drive's
SCSI ID, power up the tape drive, and then power up the server.
Connect the SCSI cable
A 68-pin, wide VHD-to-HD SCSI cable is required to connect your LTO tape drive to a VHD SCSI
port on an LVD SCSI bus. If your server has an HD SCSI port, you must either purchase and install
a VHD-to-HD adapter or use an HD-to-HD cable instead of the supplied cable. Refer to the
manufacturer's web site for recommended products.
CAUTION: To avoid damaging the computer or tape drive, ensure that both are powered off while
you attach the SCSI cable.
Connecting an external SCSI tape drive 19

Related product manuals