EasyManua.ls Logo

HP SN8000B - Page 5

HP SN8000B
13 pages
Print Icon
To Next Page IconTo Next Page
To Next Page IconTo Next Page
To Previous Page IconTo Previous Page
To Previous Page IconTo Previous Page
Loading...
FX8-24 components
Figure 6 FX8-24
2. 1 GbE ports 0–31. Power LED
4. FC ports 0–53. 10-GbE ports 0–1
6. 1 GbE ports 4–95. Status LED
7. FC ports 6–11
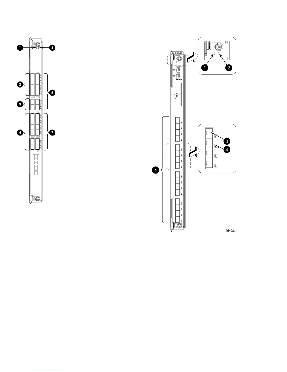
FS8-18 components
Figure 7 FS8-18
2. Status LED1. Power LED
4. Port status LED3. FC port
5. FC ports 0–15
Page 5

Related product manuals