EasyManua.ls Logo

Huawei BBU3900 - BBU3900 Cables

Huawei BBU3900
29 pages
To Next Page IconTo Next Page
To Next Page IconTo Next Page
To Previous Page IconTo Previous Page
To Previous Page IconTo Previous Page
Loading...
LTE TDD
BBU3900&BBU3910 Description
1 Overview
Huawei Proprietary and Confidential
Copyright © Huawei Technologies Co., Ltd.
Label Connector Number of Ports Description
ports
FE/GE0 and
FE/GE1
SFP 2 FE/GE optical ports
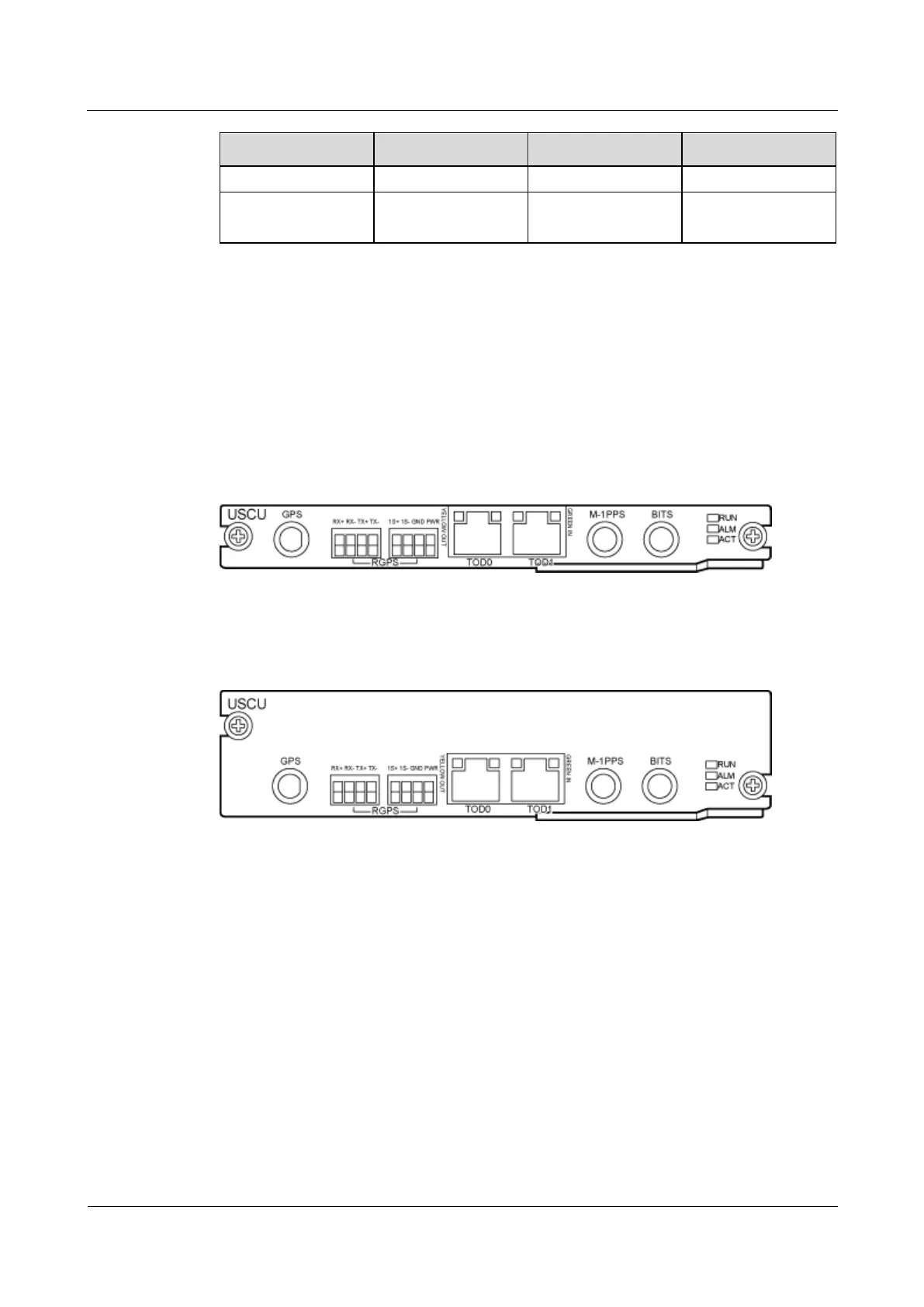
1.3.6 USCU
USCU is short for universal satellite card and clock unit. The types of USCUs are USCUb11
and USCUb21.
Panel
Figure 1-15 shows the panel of the USCUb11.
Figure 1-15 USCUb11 panel
Figure 1-16 shows the panel of the USCUb21.
Figure 1-16 USCUb21 panel
Functions
The functions of the USCUb11 and USCUb21 are as follows:
The USCUb11 provides ports to communicate with the RGPS (for example the reused
equipment of the customer) and BITS equipment. It does not support GPS signals.
The USCUb22 does not support RGPS signals. It uses a Naviors satellite card, which
must be purchased locally and installed onsite.
Ports
The USCUb11 and USCUb21 all provide the same ports as described in Table 1-9.

Other manuals for Huawei BBU3900

Related product manuals