EasyManua.ls Logo

Huawei NetCol8000-A045U - Installation Requirements for the Water-Cooled Module

Huawei NetCol8000-A045U
369 pages
Print Icon
To Next Page IconTo Next Page
To Next Page IconTo Next Page
To Previous Page IconTo Previous Page
To Previous Page IconTo Previous Page
Loading...
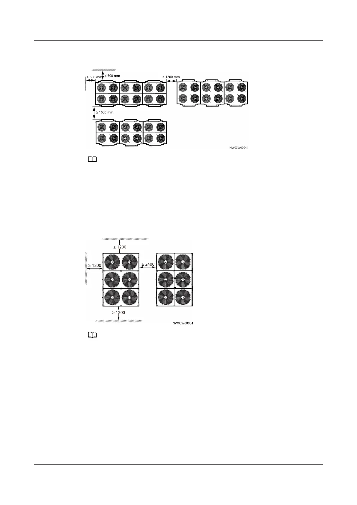
Figure 4-16 Top view of compact installation if the quantity is > 6 (NetCol500-
A120)
NO TE
Install the devices in a compact manner. If necessary, increase the height of the base. Take
the NetCol500-A120 as an example.
When the quantity is 6 or less, if the wall height is 0 mm, the base height is 0 mm. If
the wall height is 1000 mm or lower, the base height is 500 mm or higher.
When the quantity is more than 6, if the wall height is 0 mm, the base height is 500
mm or higher. If the wall height is 1000 mm or lower, the base height is 1000 mm or
higher.
Figure 4-17 Top view of compact installation (NetCol500-A110) (mm)
NO TE
A maximum of 30 units can be installed in a compact manner.
The base height is greater than or equal to 500 mm, and the wall height is less than or
equal to 1000 mm.
4.1.5 Installation Requirements for the Water-Cooled Module
Installation environment: Enclosed indoor environment in which the
temperature and humidity can be controlled within the ranges of 4°C to 45°C
and 5% RH to 90% RH respectively. If the indoor installation position is
ventilated, it should be more than 3.7 km away from the sea or pollution
sources (such as salt lakes, chemical plants, mineral plants, thermal power
plants, and coal mines).
Take antifreezing measures for cooling water pipes if the water cooling
module is installed in low temperature environments (4°C). To prevent glycol
NetCol8000-A(045, 055, 060, 090, 120) In-room Air
Cooled Smart Cooling Product
User Manual 4 System Installation
Issue 05 (2020-10-10) Copyright © Huawei Technologies Co., Ltd. 61

Table of Contents

Other manuals for Huawei NetCol8000-A045U

Related product manuals