EasyManua.ls Logo

Hyster B265 - General

Hyster B265
23 pages
Print Icon
To Next Page IconTo Next Page
To Next Page IconTo Next Page
To Previous Page IconTo Previous Page
To Previous Page IconTo Previous Page
Loading...
General
WARNING
This electrical system utilizes capacitors that
maintain a charge on the electrical system even
after the battery is disconnected. Damage to the
truck components and injury from electrical
shock may occur if the capacitors are not
properly discharged prior to servicing the
electrical systems. Refer to Discharging the
Internal Capacitors in this section.
CAUTION
Electrical components on this truck are polarity
sensitive and may be damaged if wired
incorrectly. Make sure each electrical wire
connection is tagged and properly identified
before removal or installation. If the proper
location for connection is unclear, consult the
wiring diagram for the truck. Make sure testing
meters have adequate voltage and current
capacities to handle the output of the electrical
components they are used to check. Never wire
aftermarket components to this truck without
factory approval.
The electrical system is an alternating current (AC)
system. DC current from the battery is converted
into AC current by a series of transistor motor
controllers to power each AC induction motor. See
Figure 1. Other components of this system include
battery connectors and cables, cooling fans, main
contactor, CAN I/O, display unit, integrated fuse
board (IFB), horn, lights, multifunction control
handle, emergency battery disconnect switch, key
or lever switch, and wiring harnesses.
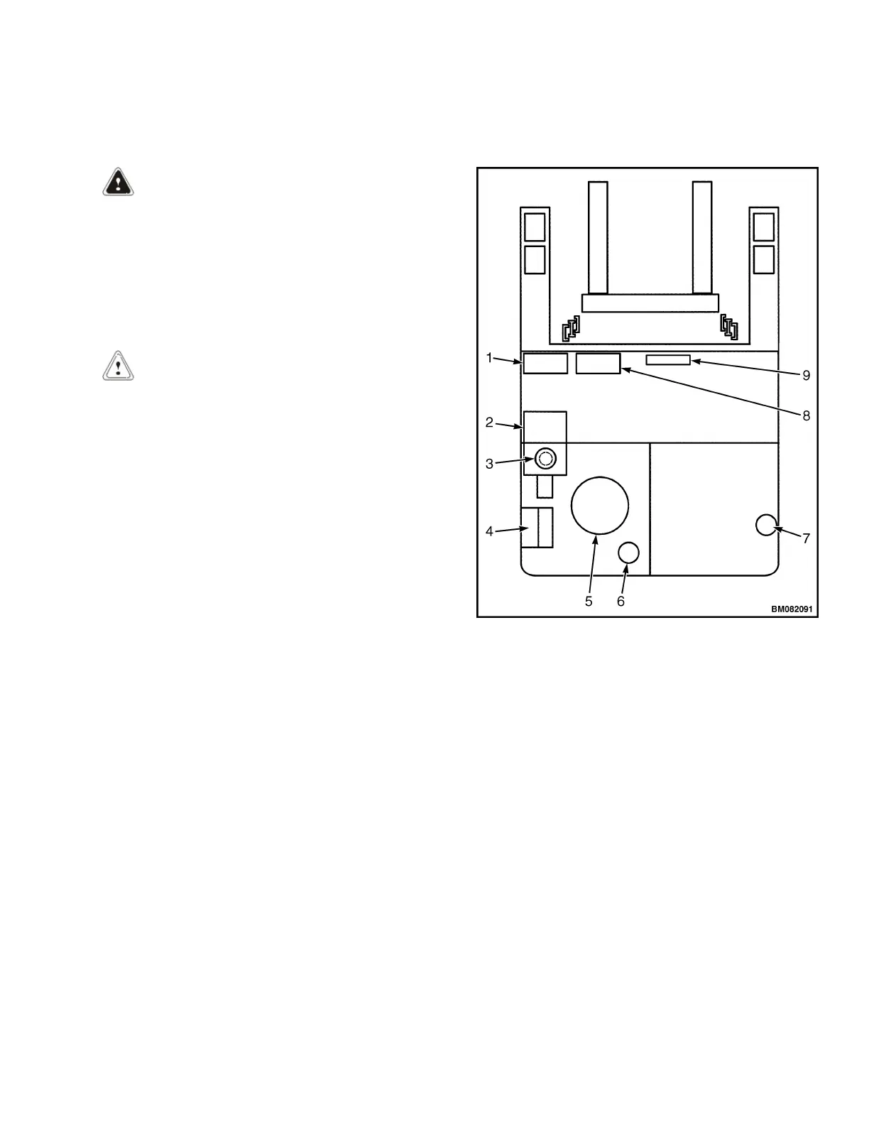
1. TRACTION CONTROLLER
2. LIFT MOTOR
3. AUX HYDRAULIC MOTOR (BELOW) (N35ZDR,
N45ZR, N30ZDR, N35-40ZR ONLY)
4. CAN I/O AND STEERING CONTROLLERS
5. TRACTION MOTOR
6. STEERING MOTOR
7. CASTER MOTOR (OPTIONAL)
8. HYDRAULIC CONTROLLER
9. INTEGRATED FUSE BOARD (IFB)
Figure 1. Electrical System General Arrangement
2200 SRM 1612 General
1

Related product manuals