EasyManua.ls Logo

ICC EXCEL - Roof Support (ESR) Installation

ICC EXCEL
32 pages
Print Icon
To Next Page IconTo Next Page
To Next Page IconTo Next Page
To Previous Page IconTo Previous Page
To Previous Page IconTo Previous Page
Loading...
EXCEL Canada 15 Owner’s Manual
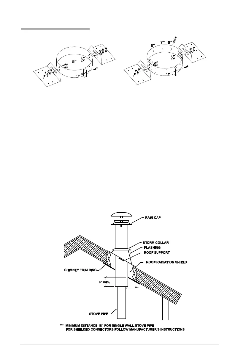
ROOF SUPPORT (ESR)
The roof support may be used to support the chimney on a flat or inclined
roof.
When using a roof support the chimney must extend in to the room a
minimum of 6 inches below a finished ceiling. You must also maintain the
required horizontal clearance between the single or double wall connector
and the combustible ceiling - see diagram below.
See the table on page 3 to determine the minimum opening required in the
roof. The chimney must have 2" of clearance all around - regardless of roof
pitch.
1. Assemble the roof support band following the instructions on page 14.
2. Bolt on the two 90° roof support brackets. These brackets require two
elevator bolts per bracket - see the drawing above. Leave these bolts
loose.