EasyManua.ls Logo

Icom IC-2GAT - Block Diagram

Icom IC-2GAT
62 pages
Print Icon
To Next Page IconTo Next Page
To Next Page IconTo Next Page
To Previous Page IconTo Previous Page
To Previous Page IconTo Previous Page
Loading...
10-3
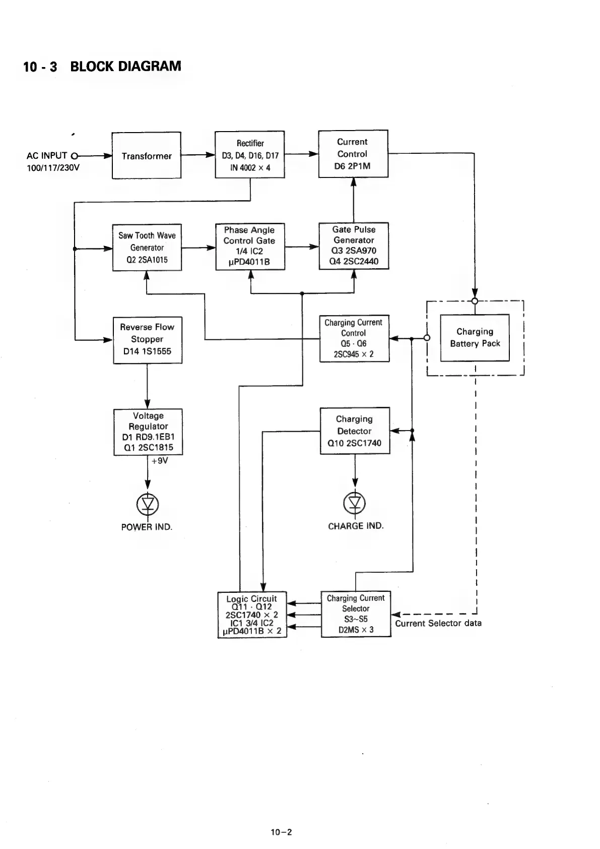
BLOCK
DIAGRAM
ГА
AC
INPUT
О
100/117/230V
Transformer
Saw
Tooth
Wave
Generator
Q2
25А1015
Reverse
Flow
Stopper
014
151555
Voltage
Regulator
D1
RD9.1EB1
Q1
2SC1815
POWER
IND.
Rectifier
Current
D3, D4,
016,
D17
Control
IN
4002
x
4
D6
2P1M
Gate
Pulse
Phase
Angle
Control
Gate
Generator
1/4
IC2
Q3
2SA970
uPD4011B
Q4
2SC2440
Charging
Current
Control
05
·
06
25С945
x
2
Charging
Detector
Q10
28C1740
CHARGE
IND.
Logic
Circuit
Charging
Current
011-012
Selector
1
2
144102,
Se.
кале
р
тен
=
uPD4011B
x
2
D2MS
x
3
Current
Selector
data
10-2
Charging
Battery
Pack
Із
2
s

Other manuals for Icom IC-2GAT

Related product manuals