EasyManua.ls Logo

Icom IC-730 - Page 88

Icom IC-730
136 pages
To Next Page IconTo Next Page
To Next Page IconTo Next Page
To Previous Page IconTo Previous Page
To Previous Page IconTo Previous Page
Loading...
~
>.
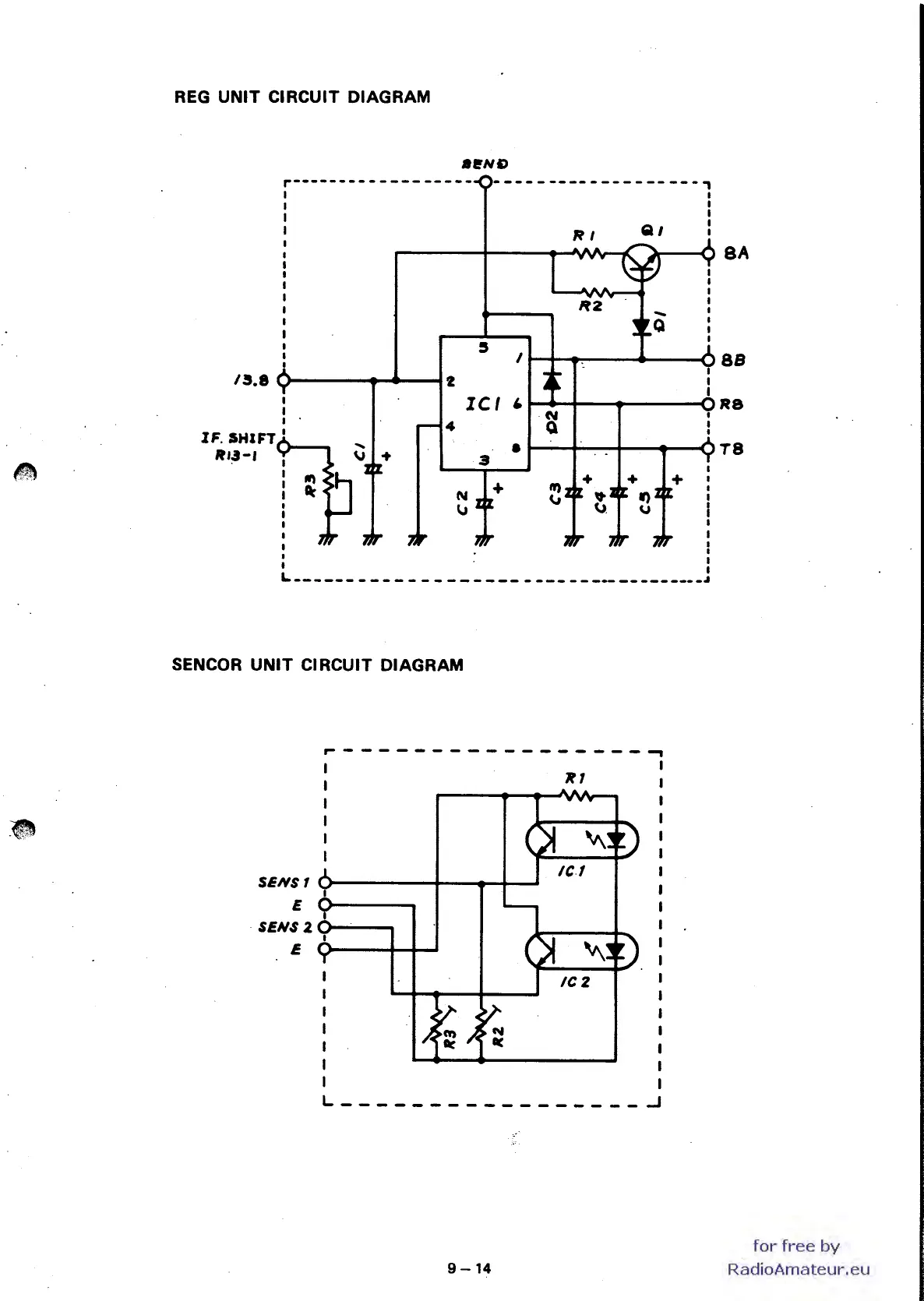
REG
UNIT
CI
RCUIT DIAGRAM
.~NlJ
r-----
--------
--
--- -----
----
----------,
I
I
I
Q/
:
~-o8A
15.8
I
I
I
IF.
SHIFT I
R.,J-,
I
....
\I
'"
~
5
2
lei
4
+
3
N
+
\J
1
~
N
Q
+ +
+
",
~
I)
\I
U
u
L
_____________________________________
"
SENCOR
UNIT
CIRCUIT DIAGRAM
r-----------------~
SENS1
~--------_+--_1~--~
E
SENS
2
u----..,
E
I
I
I
I
I
Ttl
L
_________________
~
9-14
88
R8
T8
for
free
by
RadioAmateur.eu

Other manuals for Icom IC-730

Related product manuals