EasyManua.ls Logo

Icom IC-M510BB - Page 99

Icom IC-M510BB
112 pages
Print Icon
To Next Page IconTo Next Page
To Next Page IconTo Next Page
To Previous Page IconTo Previous Page
To Previous Page IconTo Previous Page
Loading...
86
1
7
4
10
15
18
2
8
13
5
11
16
3
9
14
6
12
17
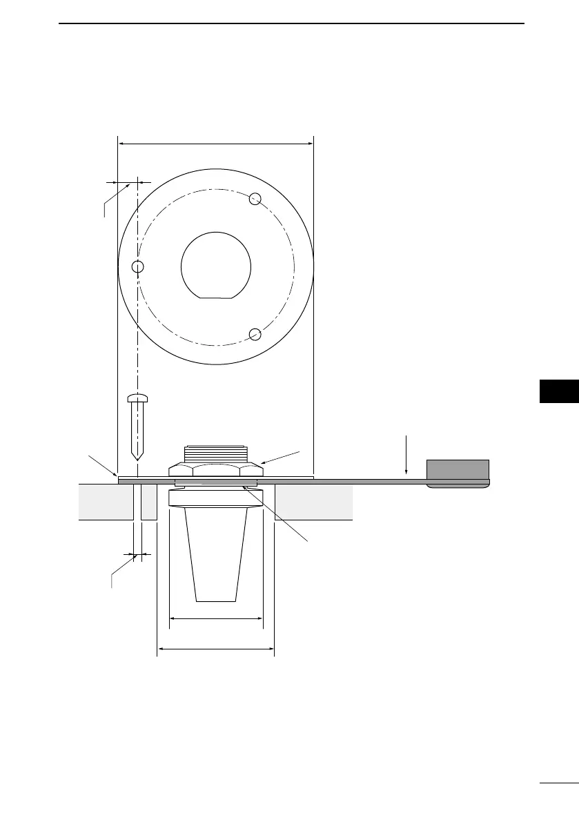
CONNECTIONS
11
Gasket
Mounting base
Cap
Nut
50 (d) (1
31
/
32
)
5 (
3
/
16
)
unit: mm (inch)
2 (
3
/
32
)
28 (d) (1
3
/
32
)
29.5 to 31.5 (d)
(1
5
/
32
to 1
1
/
4)
FELLECS-TECH | inbox@fellecs-tech.com | www.fellecs-tech.com

Related product manuals