EasyManua.ls Logo

Icom IC-Q7E - Page 26

Icom IC-Q7E
39 pages
Print Icon
To Next Page IconTo Next Page
To Next Page IconTo Next Page
To Previous Page IconTo Previous Page
To Previous Page IconTo Previous Page
Loading...
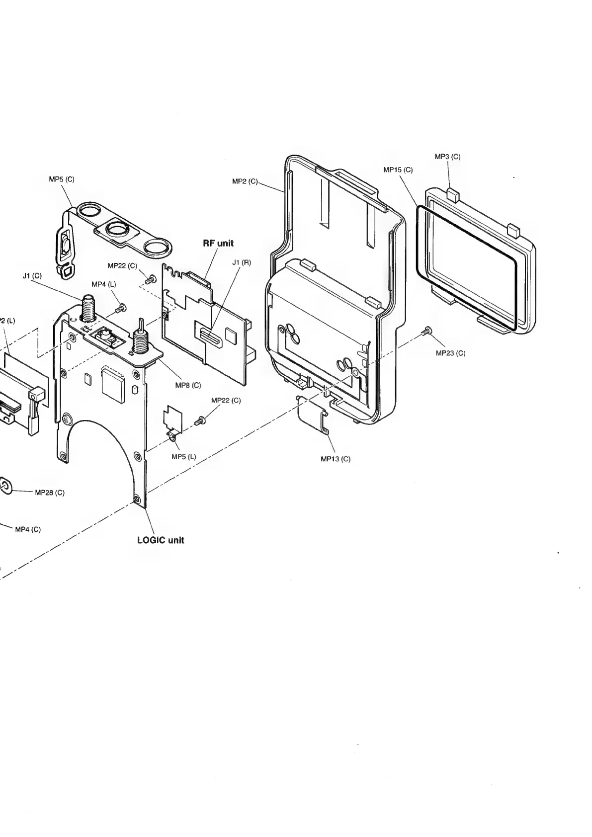
MP3
(C)
MP15
(C)
MP5
(С)
MP2
(C)
MP22
(C)
МР4
(L)
MP23
(C)
2)
МР28
(С)
“7
ж
~~
MP4
(C)
Pa
pent
LOGIC
unit
a
Pd

Related product manuals