EasyManua.ls Logo

Igloohome Deadbolt 2S - How to use the Drill Sheet

Igloohome Deadbolt 2S
41 pages
Print Icon
To Next Page IconTo Next Page
To Next Page IconTo Next Page
To Previous Page IconTo Previous Page
To Previous Page IconTo Previous Page
Loading...
8
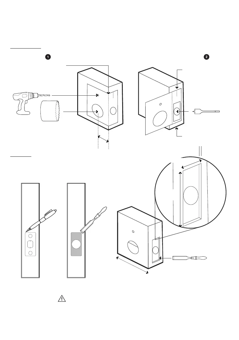
How to use the Drill Sheet
Mark the center of the holes and then drill for accuracy.
Drilling (Door)
Make sure this is
aligned to the centre
of door edge
Door edge
Fold here
before drilling
holes for side
Depending on
Door type
Chiselling
Put the bolt tongue in &
chisel around the edge
54mm (2.12”)
Hole Saw
10mm (0.39“)
Drill Bit
60-70mm
(2.36 - 2.76”)
2.7mm (0.11”)
Deep
57mm
(2.25”)
25mm (0.98”)
25mm (0.98”)
Spade Bit
20mm
(0.78”)
Chisel
20mm (0.78”)
Chisel

Related product manuals