EasyManua.ls Logo

IKEA ELDSLAGA - Descrizione Prodotto

IKEA ELDSLAGA
84 pages
Print Icon
To Next Page IconTo Next Page
To Next Page IconTo Next Page
To Previous Page IconTo Previous Page
To Previous Page IconTo Previous Page
Loading...
ITALIANO 30
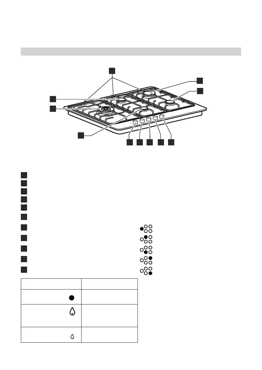
Descrizione prodotto
ITALIANO 24
'HVFUL]LRQHGHOSURGRWWR
1
Griglie amovibili
2
Bruciatore rapido
3
Bruciatore semirapido
4
Bruciatore ausiliario
5
Bruciatore semirapido
6
Bruciatore di potenza
7
Manopola comando bruciatore di potenza
8
Manopola comando bruciatore semirapido
9
Manopola comando bruciatore ausiliario
10
Manopola comando bruciatore rapido
11
Manopola comando bruciatore semirapido
1
7 9 10 118
4
6
5
3
2
Simboli
Cerchio pieno
Rubinetto chiuso
Fiamma grande
e stella
Apertura/portata
massima e
accensione elettrica
Fiamma piccola
Apertura minima o
portata ridotta

Related product manuals