EasyManua.ls Logo

IKEA ELDSLAGA - Page 68

IKEA ELDSLAGA
84 pages
Print Icon
To Next Page IconTo Next Page
To Next Page IconTo Next Page
To Previous Page IconTo Previous Page
To Previous Page IconTo Previous Page
Loading...
ESPAÑOL 68
Descripción del aparato
ESPAÑOL 56
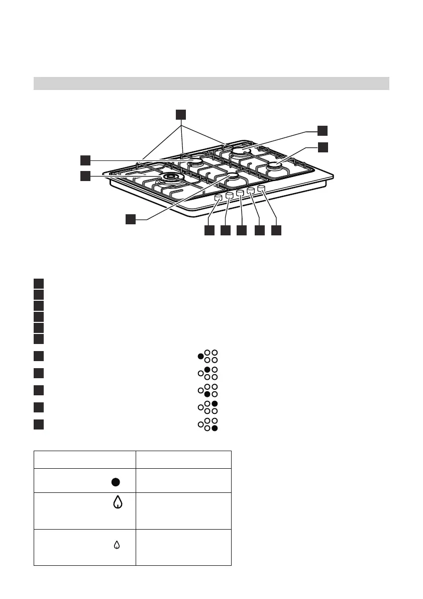
Descripción del aparato
1
Rejillas amovibles
2
Quemador rápido
3
Quemador semirrápido
4
Quemador auxiliar
5
Quemador semirrápido
6
Quemador rápido
7
Mando del quemador rápido
8
Mando del quemador semirrápido
9
Mando del quemador auxiliar
10
Mando del quemador rápido
11
Mando del quemador semirrápido
1
7 9 10 118
4
6
5
3
2
Símbolos
Disco sólido
Mando cerrado
Llama grande
y estrella
Apertura o capacidad
máximas y encendido
HOpFWULFR
Llama pequeña
Apertura mínima o
reducida
mínimos

Related product manuals