EasyManua.ls Logo

IKEA GRANSLOS - Page 47

IKEA GRANSLOS
68 pages
Print Icon
To Next Page IconTo Next Page
To Next Page IconTo Next Page
To Previous Page IconTo Previous Page
To Previous Page IconTo Previous Page
Loading...
Nach Ablauf von 90 % der eingestellten
Zeit ertönt ein Signalton.
4. Nach Ablauf der eingestellten Zeit
ertönt 2 Minuten lang ein Signalton.
"00:00“ und blinken im Display.
Drücken Sie eine beliebige Taste, um
das Signal abzustellen.
GARZEITMESSER
Drücken Sie wiederholt, bis das Display
die Zeit ohne Symbole anzeigt.
Verwendung des Zubehörs
WARNUNG! Siehe Kapitel
Sicherheitshinweise.
Einsetzen des Zubehörs
Verwenden Sie nur geeignetes
Kochgeschirr und Material.
WARNUNG! Siehe Kapitel
„Ratschläge und Tipps“,
Geeignetes Kochgeschirr und
Materialien für die Mikrowelle.
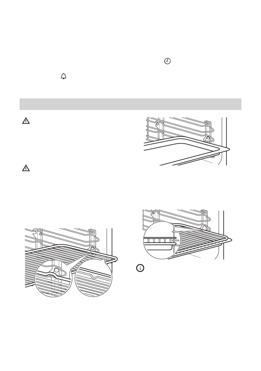
Kombirost:
Schieben Sie den Kombirost zwischen die
Führungsschienen der Einhängegitter, mit
den Füßen nach unten zeigend.
Backblech:
Schieben Sie das Backblech zwischen die
Führungsschienen der Einhängegitter.
Kombirost und Backblechzusammen:
Schieben Sie das Backblech zwischen die
Führungsschienen der Einhängegitter und
den Kombirost in die Führungsschienen
darüber.
Die kleine Einkerbung auf der
Oberseite erhöht die Sicherheit.
Diese Einkerbungen dienen auch
als Kippsicherung. Durch den
umlaufend erhöhten Rand des
Rosts ist das Kochgeschirr gegen
Abrutschen vom Rost gesichert.
Mikrowellen-Bodenplatte aus Glas:
DEUTSCH
47

Other manuals for IKEA GRANSLOS

Related product manuals