EasyManua.ls Logo

Immergas CARV2 - Page 13

Immergas CARV2
32 pages
Print Icon
To Next Page IconTo Next Page
To Next Page IconTo Next Page
To Previous Page IconTo Previous Page
To Previous Page IconTo Previous Page
Loading...
13
Fig. 8
Fig. 9
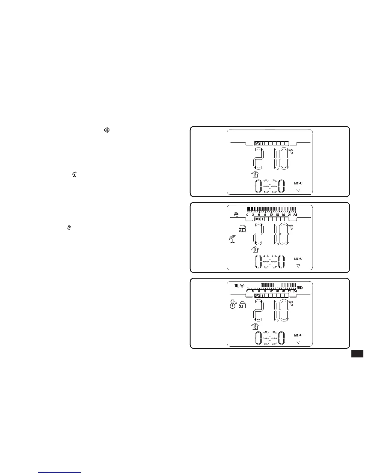
Stand-by/anti-freeze mode ( ). In this mode, the boiler
can only function in the event of anti-freeze request.
In this state, the day, current time, any functioning
anomalies and the room temperature are displayed (g.
8).
Summer mode ( ). In this mode the boiler is enabled
for producing domestic hot water excluding heating the
environment. e display shows the day and the current
time, the room temperature and hour bar with daily
programming of the DHW timer along with the relative
symbols (g. 9).
Winter mode ( ). In winter mode the boiler is enabled
for producing domestic hot water and for central heating
the environment. In winter mode the CAR
V2
remote
control can function in automatic or manual mode. For
the description of functioning see chapter 6. e display
shows the day and current time, the room temperature
and the hour bar with the daily programming of the
central heating timer along with the relative symbols (g.
10).
Fig. 10

Other manuals for Immergas CARV2