EasyManua.ls Logo

Immergas ZEUS 24 - Page 16

Immergas ZEUS 24
28 pages
Print Icon
To Next Page IconTo Next Page
To Next Page IconTo Next Page
To Previous Page IconTo Previous Page
To Previous Page IconTo Previous Page
Loading...
INSTALLATORUSERMAINTENANCE
16 - IE
2.4 IGNITION OF THE BOILER.
Before ignition make sure the heating system is
lled with water and that the manometer (12)
indicates a pressure of 1 - 1.2 bar.
- Open the gas cock upstream from the boiler.
- Turn the master switch (9) taking it to the
Domestic/Remote Friend Control
V2
(CAR
V2
) (
) or Domestic Hot Water ( ) position.
N.B.: once the main selector switch has been
placed (9) on one of these positions, the presence
of voltage is indicated by the switch-on with a
xed light of one of the LEDS from 4 to 8, which
indicate the temperature of the output water from
the main heat exchanger.
Important: lashing of one of the LEDs from 4 to
8 indicates that there is an anomaly present, refer
to the successive paragraph.
Functioning of the boiler in domestic water mode
and in heating mode is indicated respectively by
the switch-on of LED 2 or LED 3 with a xed light
(in absence of remote controls).
Operation with Remote Friend Control
V2
(Optional). With selector switch (9) in position
( ) Remote Control connected to the boiler
selector switches (10) and (11) excluded. e
boiler adjustment parameters are set from the
control panel of the Remote Friend Control
V2
.
Connection tot he Remote Control is indicated
by the contemporary xed switch-on of LEDs 2
and 3 ( ). Also in the presence of Remote
Control the indications of the temperature and
any faults are maintained on the control panel.
Operation without Remote Control. With the
selector switch (9) in position ( ) the
heating adjustment selector switch(4) is cut out,
the domestic hot water temperature is regulated
by selector switch (10). With the selector switch
in position ( ) the heating adjustment
selector switch (11) is used to regulate the
temperature of radiators, while selector (10)
continues to be used for domestic hot water. Turn
the selector switches in a clockwise direction
to increase the temperature and in an anti-
clockwise direction to decrease it.
From this moment the boiler functions
automatically. With no demand for heat (heating
or domestic hot water production) the boiler goes
to standby” function, equivalent to the boiler
being powered without presence of ame (LED
corresponding to the ignited boiler temperature).
Each time the boiler lights up, the relative ame
present symbol is displayed by the green LED
1 ( ).
N.B.: the boiler may start-up automatically if the
anti-freeze function is activated.
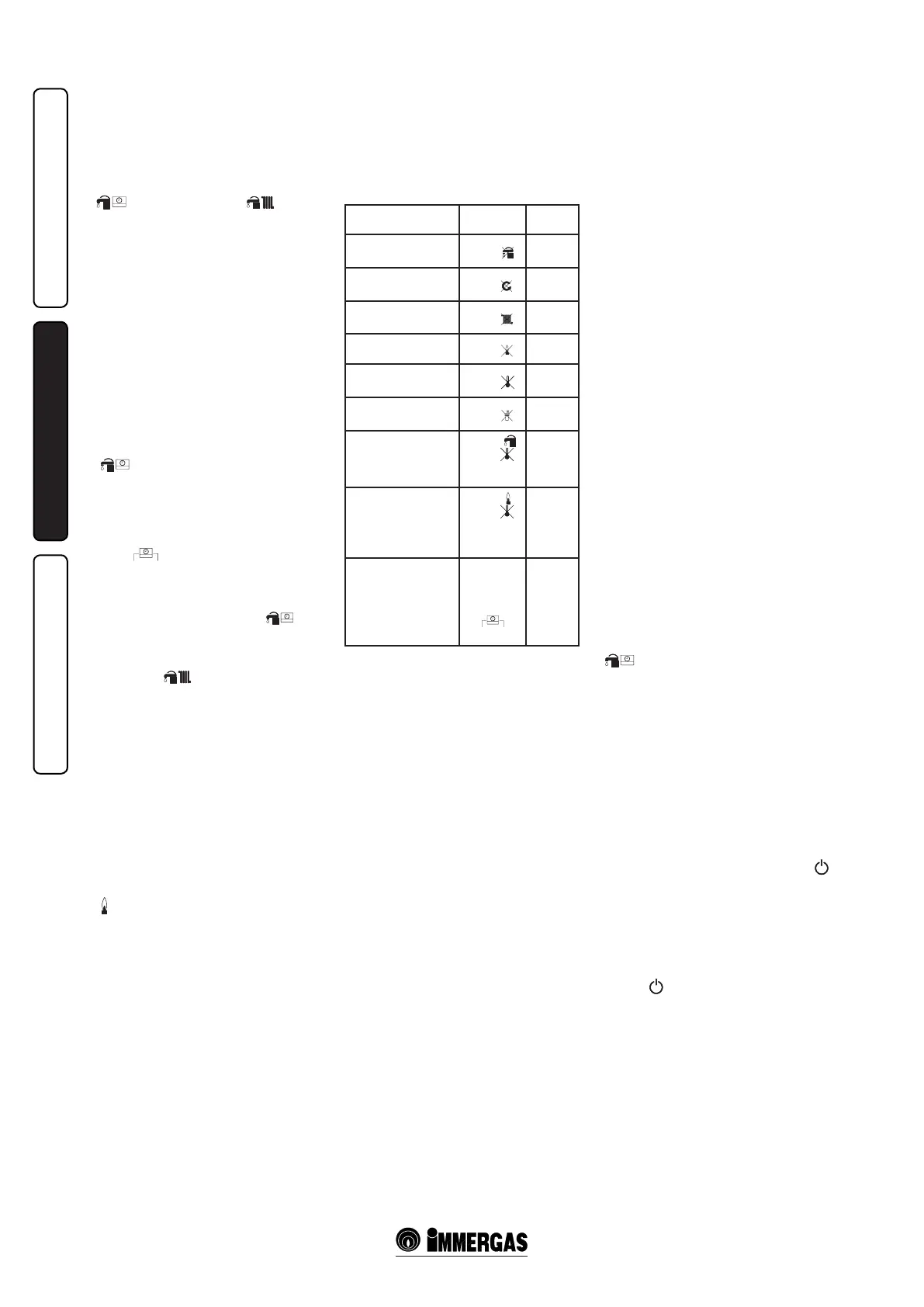
2.5 FAULT AND ANOMALY SIGNALS.
The Zeus kW boiler signals ant anomaly by
ashing of one of the LEDs from 4 to 8 or LEDs 1
and 2 coupled to LED 7. On any remote controls,
the error code will be displayed using a numerical
code preceeded or folowed by the letter E (e.g.
CAR
V2
= Exx, CRD = xxE)
Anomaly signalled
Flashing
LED
Remote
display
Boiling device probe
anomaly
LED 2 (
)
12
Insucent
circulation
LED 4 (
)
27
Delivery probe
anomaly
LED 5 (
) 05
Ignition
block
LED 6 (
)
01
Safety thermostat block
(over-temperature)
LED 7 (
)
02
Fumes pressure switch
anomaly
LED 8 (
) 11
Contacts resistance
block
LEDs 2 (
)
and 7 ( )
contempora-
ry ashing
04
Parasite ame block
LEDs 1 (
)
and 7 ( )
contempo-
rary
ashing
20
Loss of remote control
communication
LEDs 2 and
3 alterna-
ting ashing
(
)
31
Boiling device probe anomaly. If the card detects
an anomaly on the boiler NTC probe, the boiler
does not start-up in domestic water mode however,
functioning in heating mode; a skilled technician
must be called (e.g. Immergas Aer-sales Service).
Insucient water circulation. is occurs if there
is overheating in the boiler due to insucient water
circulating in the primary circuit; thecauses can be:
- low circulation; check that no shutodevices are
closed on the heating circuit and that the system
is free of air (deaerated);
- circulating pump blocked; free the circulating
pump.
If this phenomenon occurs frequently, contact a
qualied technician for assistance (e.g. Immergas
Technical Services Centre).
Delivery probe anomaly. If the board detects an
anomaly on the system NTC delivery probe (code
05) the boiler will not start; contact a qualied
technician for assistance (e.g. Immergas Technical
Services Centre).
Ignition block. e boiler lights up with each
demand for room heating or hot water production.
If this does not occur within 10 seconds, the
boiler remains in stand-by for 30 seconds, try
again and if the second attempt fails it goes into
“ignition block” (ashing LED 6). To eliminate
“ignition block” the main selector switch (9) must
be turned to the Rest position. e Anomaly can
be reset 5 times consecutively, aer which the
function in inhibited for at least one hour. One
attempt is gained every hour for a maximum of
5 attempts. By switching the appliance on and o
the 5 attempts are re-acquired. On commissioning
or aer extended inactivity it may be necessary to
eliminate the “ignition block. If this phenomenon
occurs frequently, contact a qualied technician
for assistance (e.g. Immergas Aer-sales Service).
Safety thermostat block (over-temperature).
During operation, if a fault causes excessive
overheating internally, in the exhaust, or an
anomaly occurs in the flamecontrol section,
an over-temperature block is triggered in the
boiler (LED 7 ashing). To eliminate the over-
temperature block, turn the main selector switch
(2)temporarily to the Reset position. If this
phenomenon occurs frequently, contact a qualied
technician for assistance (e.g. Immergas Technical
Services Centre).
Fume pressure switch fault. is occurs if the
intake or exhaust pipes are blocked or in case of
a fan fault. If normal conditions are restored the
boiler restarts without having to be reset. If this
anomaly persists, contact a qualied technician
for assistance (e.g. Immergas Aer-Sales Service).
Contacts resistance block. is occurs in the
case of faults to the safety thermostat over-
temperature). The boiler does not start and a
technician must be called (e.g. Immergas Aer-
Sales Service).
Parasite ame block. is occurs in case of a leak
on the detection circuit or anomaly in the ame
control unit. e boiler does not start. A qualied
technician must be called (e.g. Immergas Aer-
Sales Service).
Loss of remote control communicaton. is
occurs if an incompatible remote control is
connected, or if communication between the
boiler and the CAR
V2
or CRD is lost. Try the
connection procedure again by turning the boiler
o and turning the selector switch (9) to position
( ). If the CAR
V2
is still not detected on re-
starting the boiler will switch to local operating
mode, i.e. using the controls on the boiler itself.
If this phenomenon occurs frequently, contact a
qualied technician for assistance (e.g. Immergas
Technical Services Centre).
Signalling and diagnostics - Display on Remote
Friend Control
V2
screen (optional). During
normal boiler operation the room temperature
value is displayed on the Remote Friend Control
V2
(CAR
V2
or CRD) screen; in case of malfunction or
anomaly, the temperature value is replaced by the
relative error code given in the table (Para. 2-5).
Important: if the boiler is set in stand-by
the “CON” connection error symbol will appear
on the CAR
V2
and error code “31E” on the CRD.
e remote controls are powered constantly so as
not to loose the memorised programs.
2.6 BOILER SHUTDOWN.
Disconnect the main selector switch (9) taking it to
position (LEDs from 1 to 8 o), disconnect
the external omni-polar switch to the boiler and
close the gas cock upstream from the appliance.
Never leave the boiler switched on if le unused
for prolonged periods.

Table of Contents

Other manuals for Immergas ZEUS 24

Related product manuals