EasyManua.ls Logo

Impex IGS-5100 - Smith Machine Assembly - Step 2: Rear Frame and Backrest

Impex IGS-5100
33 pages
Print Icon
To Next Page IconTo Next Page
To Next Page IconTo Next Page
To Previous Page IconTo Previous Page
To Previous Page IconTo Previous Page
Loading...
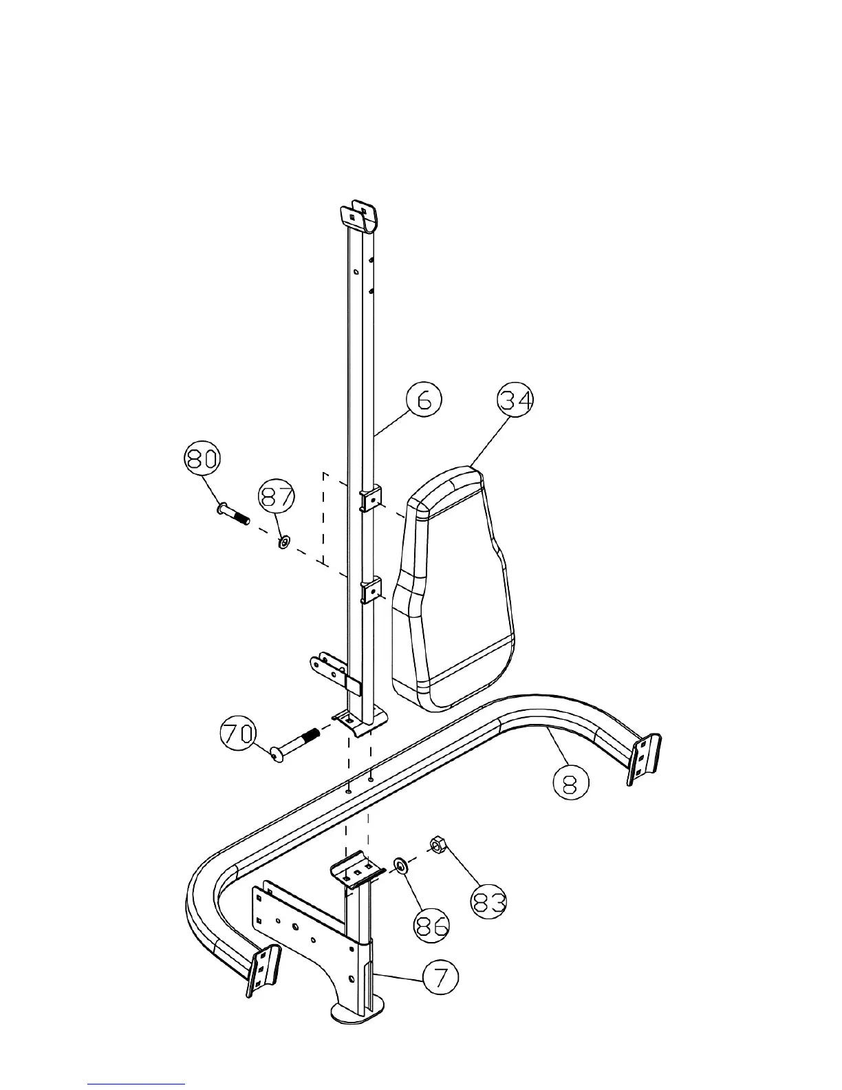
STEP 2 (See Diagram 2)
A.) Attach the Rear Vertical Frame Base (#7) to the Cross Brace (#8) from the bottom. Attach
the Rear Vertical Frame (#6) onto the Cross Brace on the top. Align the holes and secure
them together with two M10 x 2 ¾” Carriage Bolts (#70), Ø ¾” Washers (#86), and M10
Aircraft Nuts (#83).
B.) Attach the Backrest Board (#34) to the Rear Vertical Frame. Secure it with two M8 x 3 ¾”
Allen Bolts (#80) and Ø 5/8” Washes (#87).
DIAGRAM 2
10

Related product manuals