EasyManua.ls Logo

IMPPUMPS GHN - General Information and Product Details; Intended Use of Pumps; Pump Product Information; Rating Plate Explanation

IMPPUMPS GHN
Print Icon
To Next Page IconTo Next Page
To Next Page IconTo Next Page
To Previous Page IconTo Previous Page
To Previous Page IconTo Previous Page
Loading...
-12-
GB
1. General information
1.1 Intended use
GHN,GHNDmodelsofIMP-pumpsareintendedfortransportingthemediainheating,
cooling, conditioning and ventilating systems.
1. 2 Product information
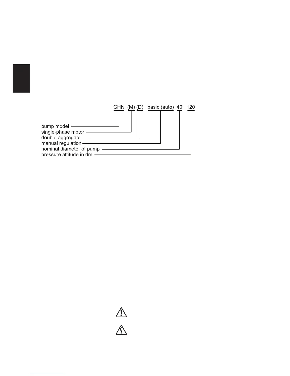
1. 2.1 Rating plate
1.2.2 Technical data
- protection type IP 44
- insulation class 200
- the motor is protected with series-produced klickson
- soundpressurelevel<70dB(A)
- mediatemperature-10°Cto+120°C.
- ambienttemperaturemax.40°C
- max.allowablepressureinthesystemcanbe1MPa(10bar).
1.2.3 Media types:
- heating water according to VDI 2035
- mixtureofwaterandglycol,withupto50%ofglycolcontent.Incaseofamixturecontaining
glycoltheinformationonpumpingistobecorrectedwithregardtohigherviscosity.Use
onlyglycol,protectedagainstcorrosionandfollowthemanufacturer‘sinstructions.
- TousetheothermediaIMPPUMPS‘sapprovalisrequired.
- Whileorderingsparepartspleaseprovideallinformationindicatedontheratingplates.
2. Safety
Important:Readtheoperationalandsafetyinstructionsbeforeinstallationandstartup!
2.1 Identication of hints in the operating instructions
- General danger
- Danger - High voltage

Table of Contents

Related product manuals