EasyManua.ls Logo

INDU+ IDP401Z - Description of the Appliance; Technical Characteristics; Control Panel; Use of the Appliance

Default Icon
Print Icon
To Next Page IconTo Next Page
To Next Page IconTo Next Page
To Previous Page IconTo Previous Page
To Previous Page IconTo Previous Page
Loading...
62
DESCRIPTION OF THE APPLIANCE
Technical characteristics
Typ
e
IDP401Z
IDP402Z
1
IDP40WOK
Total power
3700
W
W
3200
W
Energy consumption for the hob EC
hob
**
162
Wh/kg
172.
5
Wh/kg
-
Heating zone
Ø 260 mm
260 x 19
0 mm
Ø 314 mm
Minimum detection
Ø 120 mm
Ø 100 mm
-
Nominal power*
2300 W
2100 W
200
0 W
Booster power*
2900
W
2600 W
2500 W
Double Booster*
3700 W
3700 W
3200 W
Standardised cookware category**
D
D
(x2)
-
Energy consumption EC
cw
**
162
Wh/kg
172.5
Wh/kg
-
* The given power may change according to the dimensions and material of the pan.
** calculated according to the method of measuring performance (EN 60350-2).
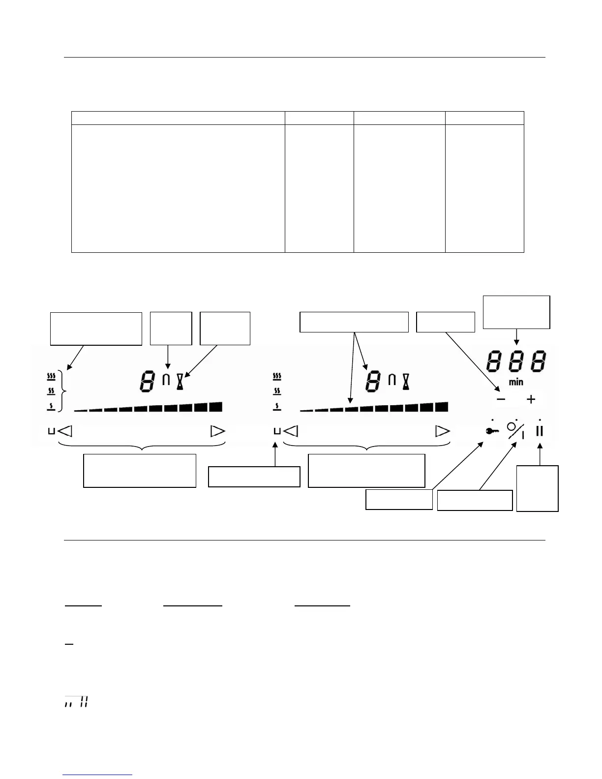
Control panel
USE OF THE APPLIANCE
Display
Display Designation Description
0 Zero The heating zone is activated.
1…9 Booster level Selection of the cooking level.
U No pan detection No pan or inadequate pan.
A Heat accelerator Automatic cooking.
E Error message Electronic failure.
H Residual heat The heating zone is hot.
P Booster The Booster is activated.
Double Booster The Double Booster is activated.
U Keep warm Maintain automatically 42, 70 or 94°C.
II Stop&Go The hob is in pause.
Power selection zone
Slider
(rear zone)
Power selection zone
Slider
(
front
zone)
Keep warm key
On/Off key
Locking key
Timer
display
Keep warm
displays
Pause/
Recal
key
Bridge
display
Timer
display
Power display
Timer keys

Table of Contents