EasyManua.ls Logo

Infiniton GWA-11NP - Page 11

Infiniton GWA-11NP
Print Icon
To Next Page IconTo Next Page
To Next Page IconTo Next Page
To Previous Page IconTo Previous Page
To Previous Page IconTo Previous Page
Loading...
10
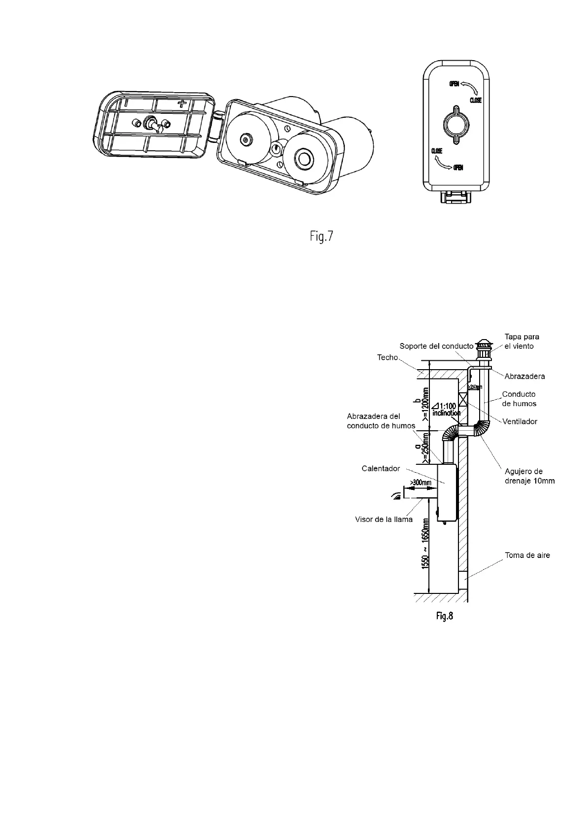
4. Instalación de conductos de humos
Como este aparato es del tipo conducto de humos, se debe instalar el conducto de humos
(Fig.8). Los requisitos detallados son los siguientes:
El cuerpo principal del conducto de humos debe
estar hecho de material metálico resistente a la
oxidación.
La conexión del conducto de humos, en la parte
horizontal del conducto de humos debe tener una
inclinación hacia abajo del 1% y debe haber un
orificio de ф10 mm en la parte inferior de la parte
vertical de
el conducto fuera de la habitación, con el fin de
evacuar la condensación.
Para prevenir el bloqueo del conducto, se requiere
estrictamente instalar el conducto de escape de
acuerdo con la Fig.8. Es muy importante mantener
la dimensión 1450 mm≤a + b≤
1850 mm. La estanqueidad para la conexión del
conducto de humos debe ser buena. Después de la
instalación del conducto, verifique que el aparato
pueda funcionar normalmente. Si el conducto de
humos debe atravesar los materiales combustibles
o la pared, debe utilizar el material de protección
térmica para empacar el conducto de humos con
un grosor superior a 20 mm.
Se debe pegar papel de aluminio entre la boca de
escape del calentador de agua y el tubo de humos
como se muestra a continuación:

Related product manuals