EasyManua.ls Logo

Infiniton GWA-11NP - Diagrama Eléctrico

Infiniton GWA-11NP
Print Icon
To Next Page IconTo Next Page
To Next Page IconTo Next Page
To Previous Page IconTo Previous Page
To Previous Page IconTo Previous Page
Loading...
19
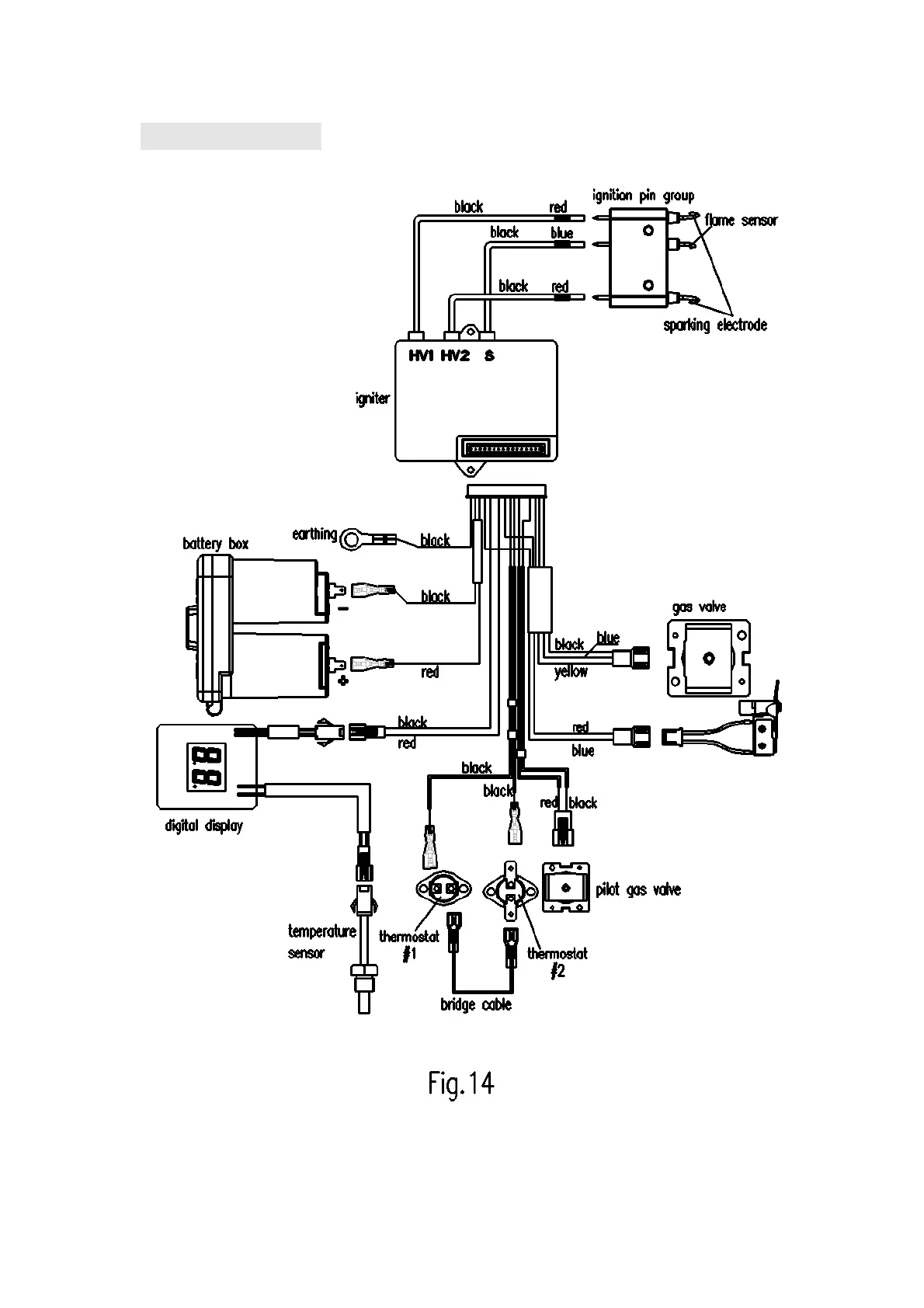
Diagrama eléctrico

Related product manuals