EasyManua.ls Logo

Infiniton GWA-11NP - Electrical Diagram

Infiniton GWA-11NP
Print Icon
To Next Page IconTo Next Page
To Next Page IconTo Next Page
To Previous Page IconTo Previous Page
To Previous Page IconTo Previous Page
Loading...
Page 19
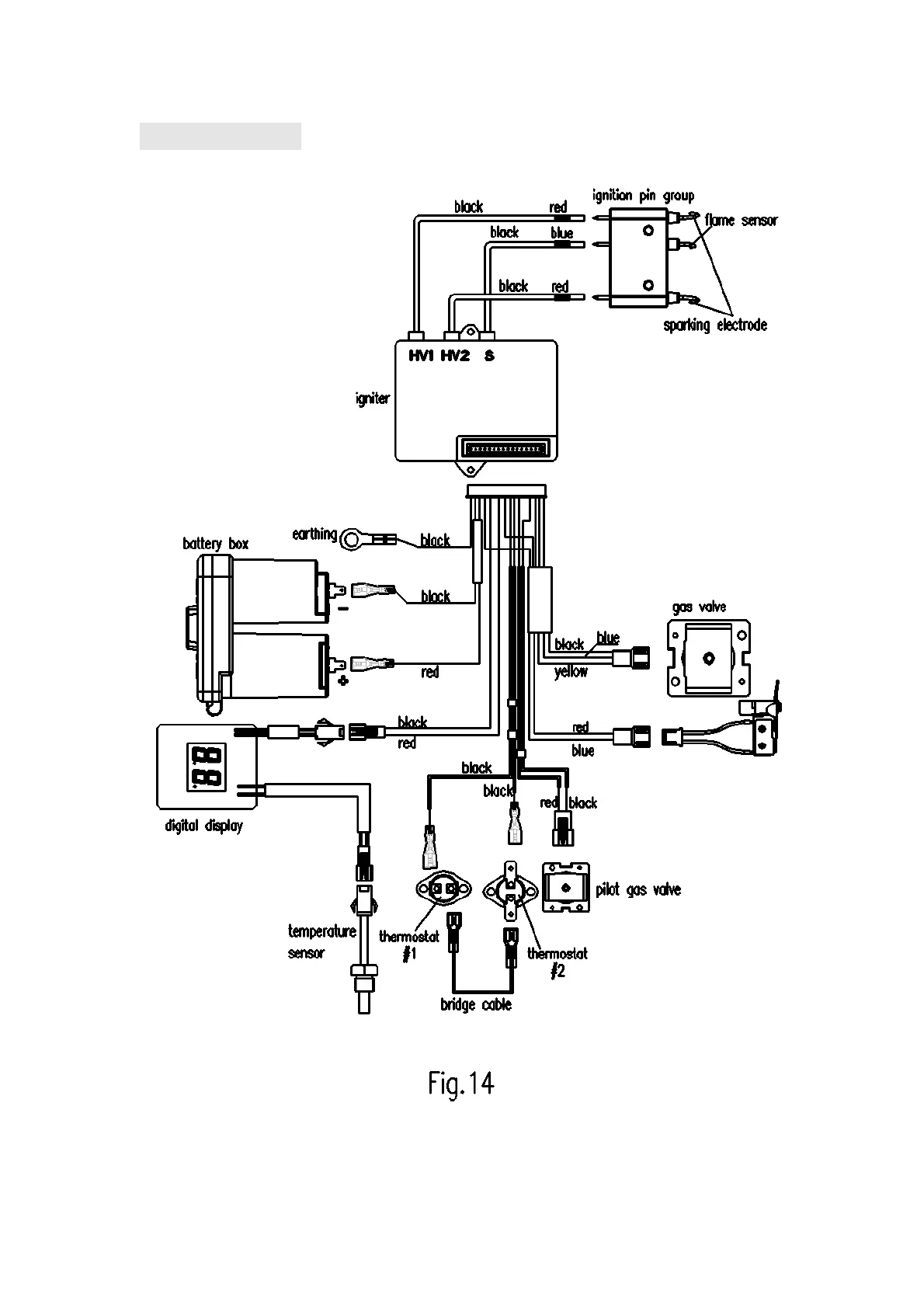
Electrical diagram

Related product manuals