EasyManua.ls Logo

Infiniton GWA-11NP - Page 36

Infiniton GWA-11NP
Print Icon
To Next Page IconTo Next Page
To Next Page IconTo Next Page
To Previous Page IconTo Previous Page
To Previous Page IconTo Previous Page
Loading...
Page 10
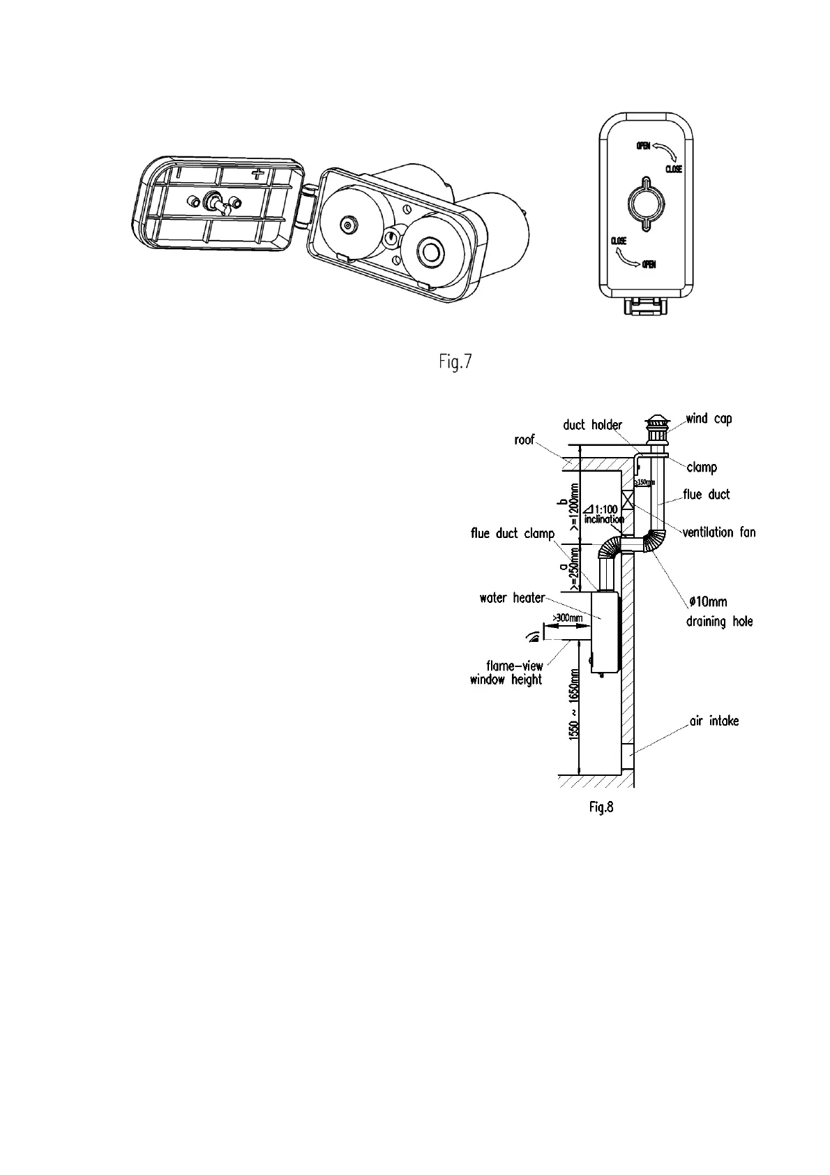
4. Flue Duct Installation
As this appliance is flue duct type, the flue
duct must be installed (Fig.8). Detailed
requirements are as follows:
The main body of the flue duct shall be
made of rust-resisting metallic material.
The flue duct connection, the horizontal
part of the flue duct shall has a 1% down
inclination, and there shall be a ф10mm
hole at the bottom of the vertical part of
the duct outside the room, for the purpose
of condensation drainage.
For prevention of duct blockage, it is
required strictly to install the exhaust duct
according to Fig.8. Its very important to
keep the dimension 1450mma + b
1850mm. The tightness for flue duct
connection must be good. After
installation of duct, check to ensure the
appliance can operate normally. If the flue
duct needs to get through the combustible materials or wall, it should use the
heat shield material to pack the flue duct with the thickness over 20mm.
Aluminum foil should be stick between water heater exhaust mouth and flue
pipe as below photo

Related product manuals