EasyManua.ls Logo

Infiniton GWA-11NP - Page 8

Infiniton GWA-11NP
Print Icon
To Next Page IconTo Next Page
To Next Page IconTo Next Page
To Previous Page IconTo Previous Page
To Previous Page IconTo Previous Page
Loading...
7
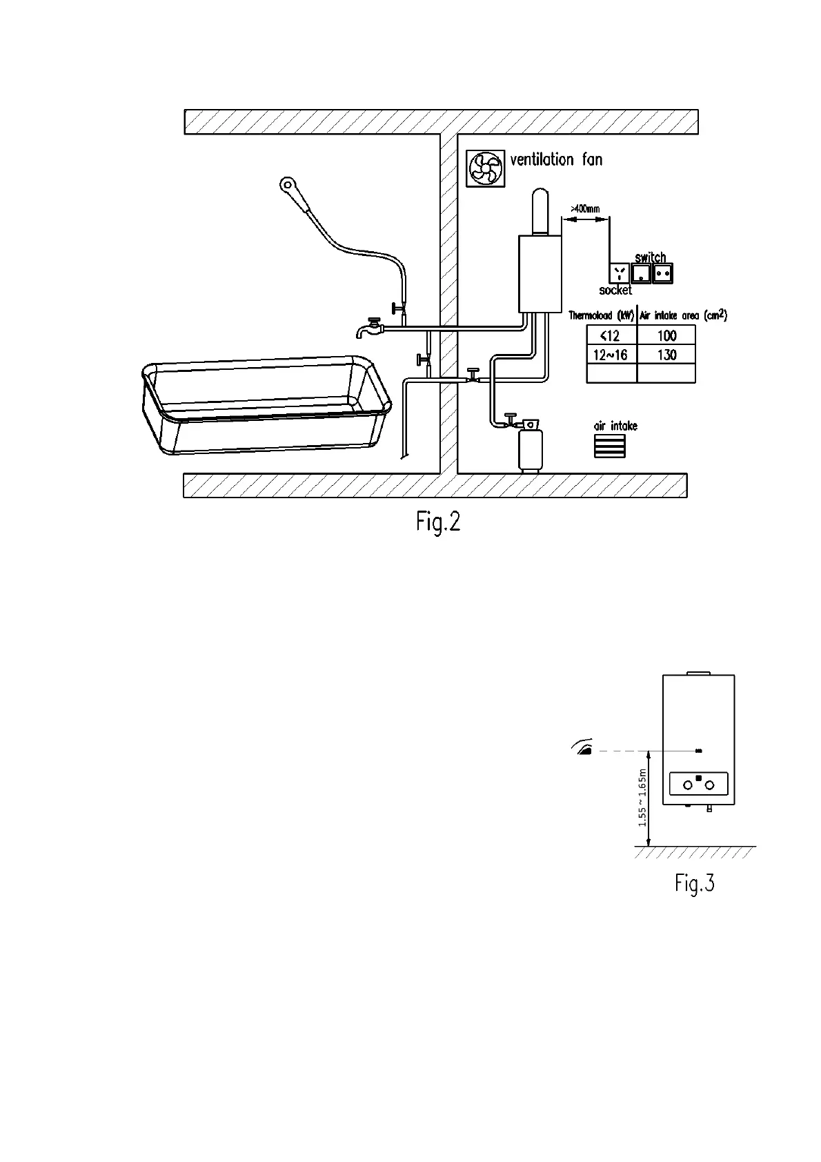
Requerimientos de instalación
No instale el aparato
en dormitorios, sótanos, baños o
ha
bitaciones con mala ventilación. La sala de instalación
debe estar bien ventilada. Se debe perforar en la pared
un orificio de ventilación y un orificio de entrada de aire
que se conecta al exterior, y el tamaño del orificio no
debe ser menor que el de la mesa de la Fig.2. El
ventilador de ventilación, si lo hay, debe instalarse sobre
el aparato y el nivel del orificio de entrada de aire debe
ser más bajo que el del aparato. El aparato debe
mantenerse al menos a 400 mm de distancia de la
electricidad (Fig.2), y no se deben colocar cables ni
equipos eléctricos sobre el aparato.
La ventana de visión de la llama del artefacto debe estar
al nivel de los ojos entre 1,55 y 1,65 m por encima del
suelo (figura 3), lo que es ergonómico para la
comprobación de la llama. El aparato debe mantenerse a
cierta distancia de los objetos cercanos ya sean
inflamables o retarda
dores de llama en caso de
accidentes por incendio (Fig.4).
16~28
400

Related product manuals