EasyManua.ls Logo

Infinity HTS-20 - SUBWOOFER PLACEMENT OPTIMIZATION; Experimenting with Port Direction; Adjusting Bass Response via Placement

Infinity HTS-20
34 pages
Print Icon
To Next Page IconTo Next Page
To Next Page IconTo Next Page
To Previous Page IconTo Previous Page
To Previous Page IconTo Previous Page
Loading...
When connecting your subwoofer make sure you turn
all the power off.
There are several ways to connect your subwoofer.
Read this section carefully to determine which method
is best suited for your installation.
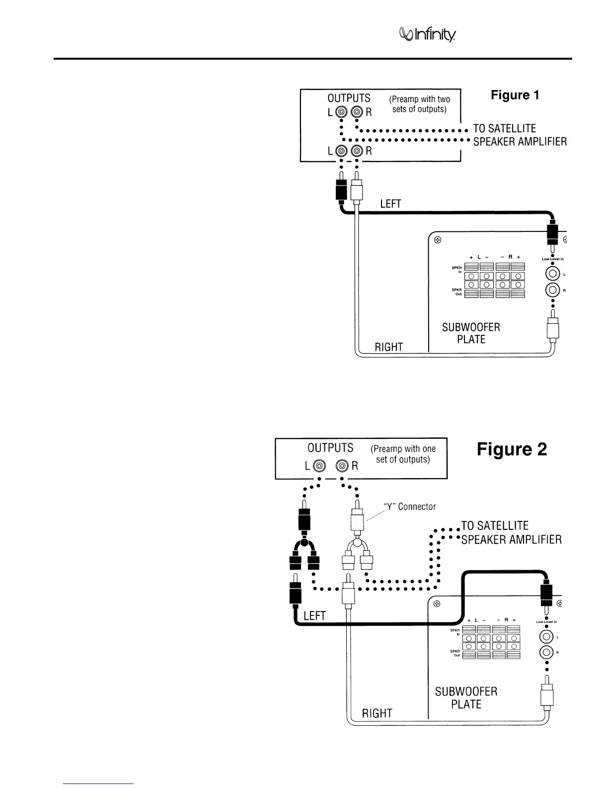
The subwoofer may be fed directly with a low-level
signal taken from a preamplifier's output by using the
second set of output jacks on the rear of the
preamplifier (See Figure 1). If a preamplifier has only
one set of outputs, you may use two (2) Y connectors
(See Figure 2) to connect the subwoofer. Use
standard shielded leads terminated at each end with
male RCA connectors. Connect one end of each
stereo pair of leads to the preamplifier's left and right
outputs and connect the other end to the
corresponding left and right LOW-LEVEL INPUTS (1)
on the subwoofer.
If you are using a tube preamplifier and the connecting
leads will be longer than 10 feet (3 meters), we
recommend not using the above connection method. A
tube preamplifier may not be able to handle the
capacitance introduced by leads more than 10 feet in
length. Instead, try using the high-level connection
methods listed on pages 5-7.
Figure 1.
- A low-level signal can be used from a
preamp's output by connecting second set of
output jacks to the rear of your amplifier.
Figure 2.
- You can use this method (2“Y”
connectors) if your preamp has only one set
of outputs.
7
Amplifier/Subwoofer BU-120/HTS-20
BU-120/HTS-20 CONNECTIONS

Other manuals for Infinity HTS-20

Related product manuals