EasyManua.ls Logo

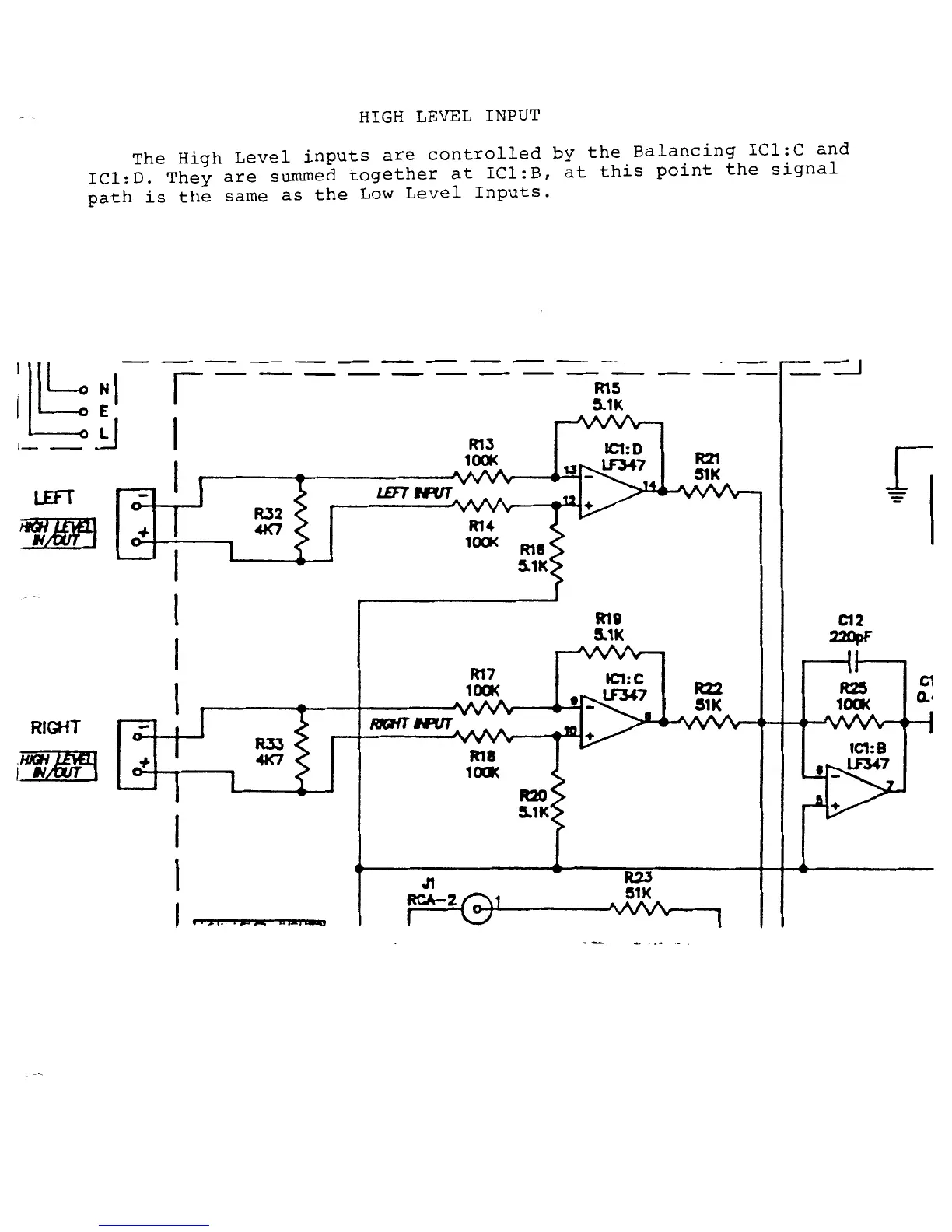
Infinity Infinitesimal IV - High Level Input Signal Path

Infinity Infinitesimal IV
40 pages
Print Icon
To Next Page IconTo Next Page
To Next Page IconTo Next Page
To Previous Page IconTo Previous Page
To Previous Page IconTo Previous Page
Loading...
CIRCUIT DESCRIPTION (cont'd)
9

Related product manuals