EasyManua.ls Logo

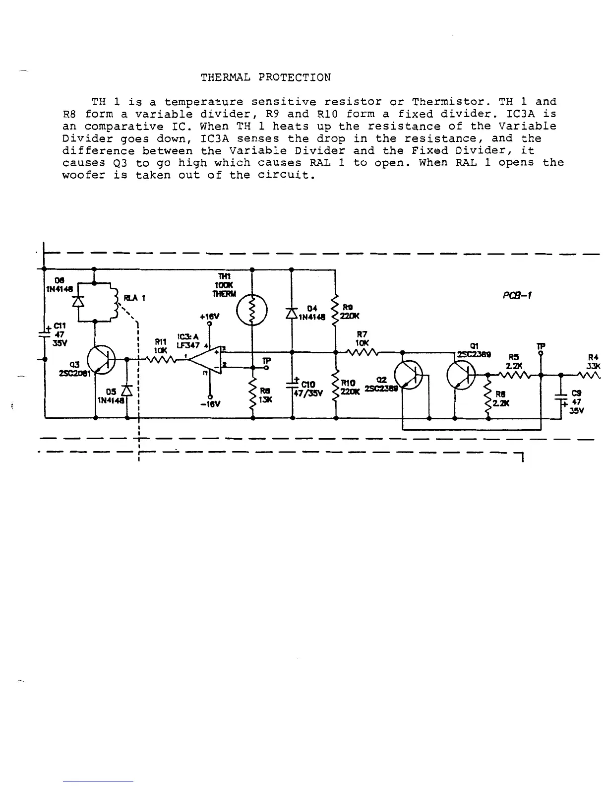
Infinity Infinitesimal IV - CIRCUIT DESCRIPTION AND ANALYSIS; Thermal Protection Circuit

Infinity Infinitesimal IV
40 pages
Print Icon
To Next Page IconTo Next Page
To Next Page IconTo Next Page
To Previous Page IconTo Previous Page
To Previous Page IconTo Previous Page
Loading...
CIRCUIT DESCRIPTION
5

Related product manuals