EasyManua.ls Logo

Infinity Kappa 102a - System Expansion

Infinity Kappa 102a
39 pages
Print Icon
To Next Page IconTo Next Page
To Next Page IconTo Next Page
To Previous Page IconTo Previous Page
To Previous Page IconTo Previous Page
Loading...
SYSTEM EXPANSION
+
-
+
-
-
+
5 14" Speakers
12" Subwoofer
+
-
+
-
1" Tweeter
4" Midrange
System
+
-
+
-
6" Mid/Bass Speakers
-
+
12" Subwoofer
+
-
1" Tweeter
4" Midrange
System
L/R Inputs
L/R Outputs
(Low-Pass)
L/R Inputs
L/R Inputs
L/R Outputs
(Low-Pass)
L/R Outputs
(Low-Pass)
L/R Inputs
L/R Inputs
KAPPA
5
2
a
KAPPA 52a
KAPPA 102a
KAPPA 102a
KAPPA 202a
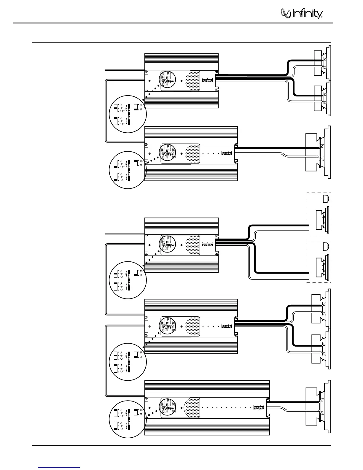
Figure 4. In this example
system, a Kappa 52a drives
a pair of 5
1
4" speakers.
The 102as stereo low-pass
outputs feed a bridged-
mono Kappa 102a to drive
a single 12" subwoofer.
Figure 5. In this expanded
system, a Kappa 52a drives
a pair of component
systems. The 52as low-
pass outputs feed a Kappa
102a to drive a stereo pair
of 6" mid/bass speakers.
The 102as low-pass
outputs feed a bridged-
mono Kappa 202a to drive
a single 12" subwoofer.
NOTE: Many different
systems are possible using
the crossover settings on
Kappa amplifiers,
including ones with 24 dB
per octave slopes achieved
through cascaded
configurations. For more
information, consult your
Infinity Car Audio dealer.
5
Kappa 102a

Related product manuals