EasyManua.ls Logo

Interphase Sea Scout - Alarm Adjustment

Interphase Sea Scout
55 pages
Print Icon
To Next Page IconTo Next Page
To Next Page IconTo Next Page
To Previous Page IconTo Previous Page
To Previous Page IconTo Previous Page
Loading...
27
When you choose to manually adjust the sensitivity, the Sea
Scout turns off the AUTO sensitivity mode and it will
remain off until the AUTO soft key is again selected. To
exit the sensitivity menu and save your adjustments simply
press the soft key labeled “LAST” to return to the main
forward looking menu.
Although the “AUTO” sensitivity will work well in most
situations, you may often find that you need to adjust the
forward sensitivity manually for the optimum picture.
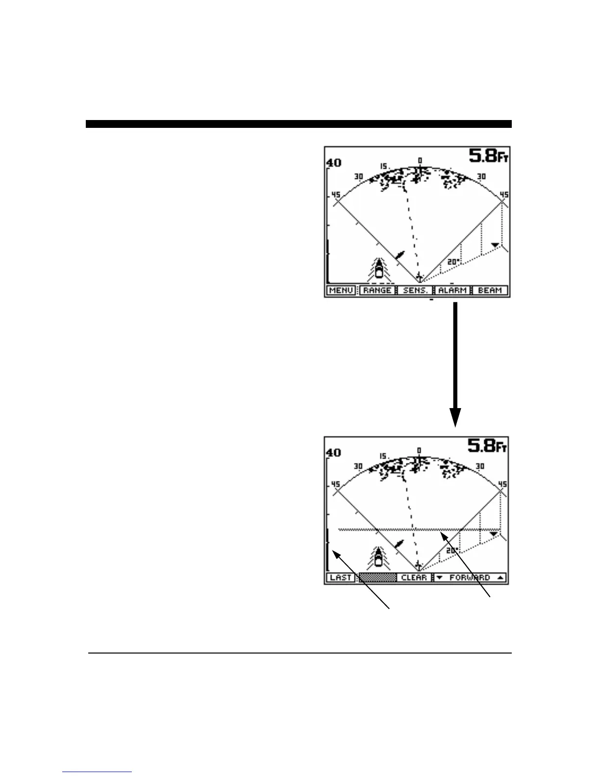
Alarm Adjustment
In the forward looking display or view, a forward alarm
may be set for targets which are closer than a present
distance.
To adjust or clear the alarm settings, press the soft key
labeled “ALARM” to bring up the forward looking alarm
menu choices. As either the up or down keys are pressed
and held down, or the large knob is rotated
counterclockwise , a horizontal bar will move from the
bottom of the display towards the top. A vertical bar will
also move along the range scale. The horizontal and
vertical bar indicate the alarm range. Any strong target
between the boat (at the bottom of the display) and the
alarm bar will cause the alarm to sound. (Note: the
horizontal line will disappear a few seconds after the alarm
is adjusted, but the vertical bar will remain to indicate the
alarms setting.)
To deactivate the alarm either press the "CLEAR" soft key
to clear the forward alarm, or rotate the control knob
clockwise until the alarm bar disappears at the bottom of the
display.
Vertical Alarm Indication
Horizontal Alarm Bar

Related product manuals