EasyManua.ls Logo

Interphase Sea Scout - Chart;Scan View; Range Adjustment; Sensitivity Adjustment

Interphase Sea Scout
55 pages
Print Icon
To Next Page IconTo Next Page
To Next Page IconTo Next Page
To Previous Page IconTo Previous Page
To Previous Page IconTo Previous Page
Loading...
40
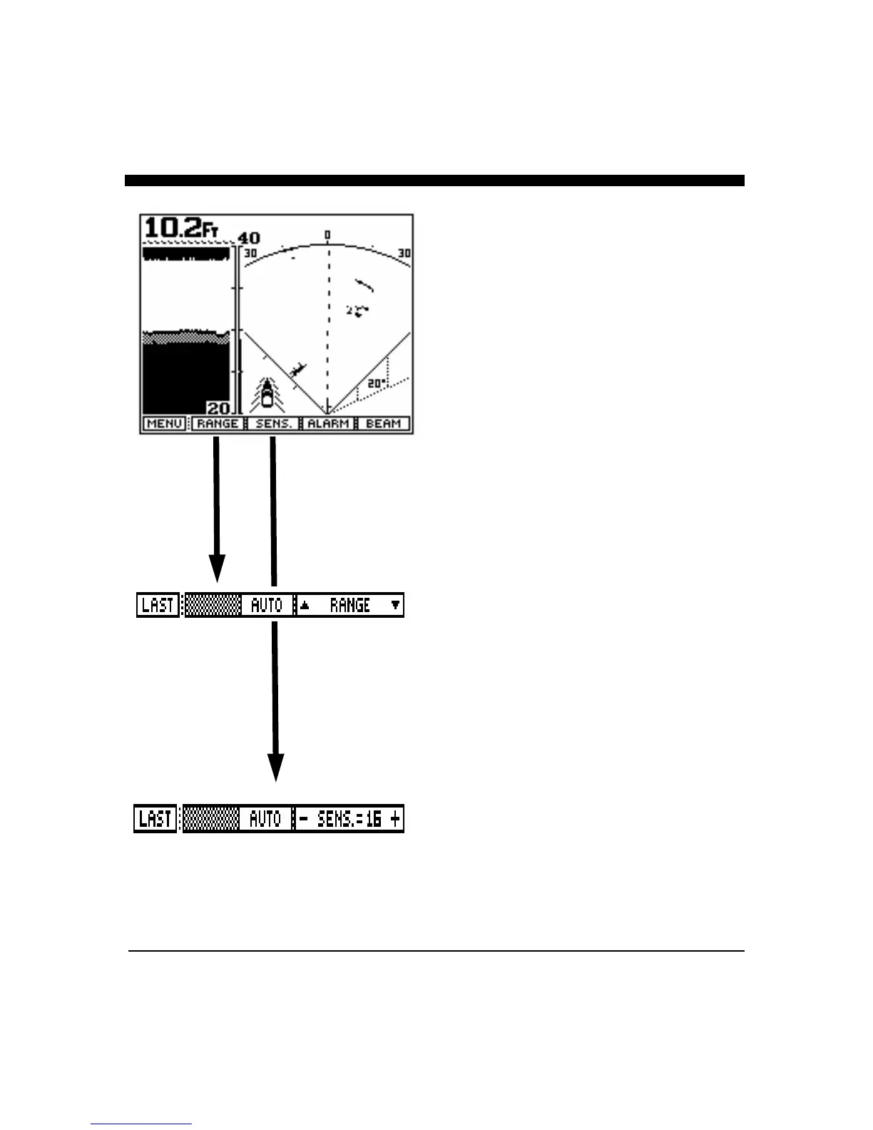
Chart/Scan View
(split screen)
In this split screen view, the Sea Scout shows a forward
looking view on the right and a conventional down
looking chart view on the left. In this view, adjustments
can be made to the right side of the display (forward
looking view) but not to the left side (conventional down
looking display). To make adjustments to the down
looking alarms, etc., go to the CHART view.
Range Adjustment
Press the button labeled "RANGE" to bring up the Range
Adjustment soft key menu. Press the button labeled
"AUTO" if you would like the Sea Scout’s internal
microprocessor to automatically select and adjust the
depth and forward range as bottom conditions change. To
manually adjust the depth and forward range, press either
the range button labeled "" or "". If you make a
manual adjustment, the AUTO range mode is turned off
and will remain off until the button labeled AUTO is
again selected. Note: when in the AUTO mode, the soft
key labeled “AUTO” will be shown in reverse video
(white on black). To return to the
main
forward looking
menu, press the soft key labeled "LAST".
Sensitivity Adjustment
Press the soft key labeled "SENS." to bring up the choices
available for adjusting the Sea Scout's receiver
sensitivity. Press the button labeled "AUTO" so that the
word AUTO is shown in reverse video (white letters on a
black background) if you would like the Sea Scout to
automatically adjust its sensitivity for changing
conditions. To manually adjust the sensitivity press the
button labeled “- Sens” or “Sens.+” to increase or
decrease the receiver gain. Note that the soft key shows a
number which indicates the relative sensitivity being
used. When you choose to manually adjust the
sensitivity, the Sea Scout turns off the AUTO sensitivity
mode and it will remain off until the “AUTO” soft key is
again selected.
Note: when AUTO mode is turned on the word
AUTO will be displayed in reverse video (white letters
on a black background).

Related product manuals