EasyManua.ls Logo

Interphase Twinscope - Page 50

Interphase Twinscope
88 pages
Print Icon
To Next Page IconTo Next Page
To Next Page IconTo Next Page
To Previous Page IconTo Previous Page
To Previous Page IconTo Previous Page
Loading...
50
changing conditions. To manually adjust the sensitivity,
either press the button labeled “Sens.+” or “- Sens” or
rotate the front panel knob. Note that the soft key shows
a number which indicates the relative sensitivity being
used (+1 to +32). When you choose to manually adjust
the sensitivity, the Twinscope turns off the AUTO
sensitivity mode and it will remain off until the AUTO
soft key is again selected. To exit the sensitivity menu
and save your adjustments simply press the soft key
labeled “LAST” to return to the main forward looking
menu.
Although the “AUTO” sensitivity will work well in most
situations, you may often find that you need to adjust the
forward sensitivity manually for the optimum picture.
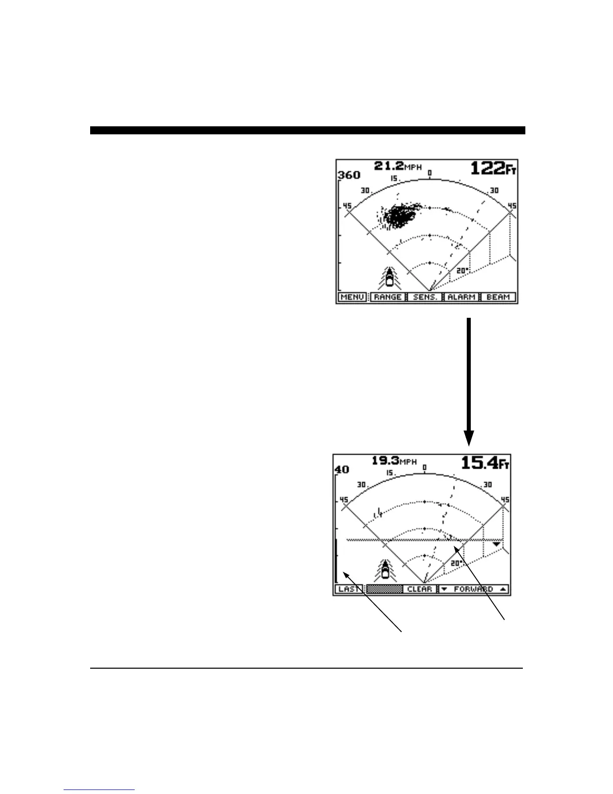
Alarm Adjustment
In the forward looking display or view, a forward alarm
may be set for targets which are closer than a present
distance.
To adjust or clear the alarm settings, press the soft key
labeled “ALARM” to bring up the forward looking
alarm menu choices. As either the up or down keys are
pressed and held down, or the large knob is rotated
counterclockwise , a horizontal bar will move from the
bottom of the display towards the top. A vertical bar will
also move along the range scale. The horizontal and
vertical bar indicate the alarm range. Any strong target
between the boat (at the bottom of the display) and the
alarm bar will cause the alarm to sound. (Note: the
horizontal line will disappear a few seconds after the
alarm is adjusted, but the vertical bar will remain to
indicate the alarms setting.)
To deactivate the alarm either press the "CLEAR" soft
key to clear the forward alarm, or rotate the control knob
clockwise until the alarm bar disappears at the bottom of
the display.
Beam Width & Steer Adjustment
The large rotary front panel knob can be used to both
adjust the beam scanning sector width and the direction
of the scan. For example, you may only want to scan the
area to the port (left) or starboard (right) side of the boat.
Press the soft key labeled "BEAM" to bring up a sub-
menu of beam adjustment choices. By pressing the soft
Vertical Alarm Indication
Horizontal Alarm Bar

Related product manuals