EasyManua.ls Logo

iSMA iSMA-B-8U-IP - Analog Output Status and Configuration

Default Icon
73 pages
Print Icon
To Next Page IconTo Next Page
To Next Page IconTo Next Page
To Previous Page IconTo Previous Page
To Previous Page IconTo Previous Page
Loading...
MINI and MIX Series I/O modules/Modbus
version 1.3 www.gc5.pl Page 29 / 73
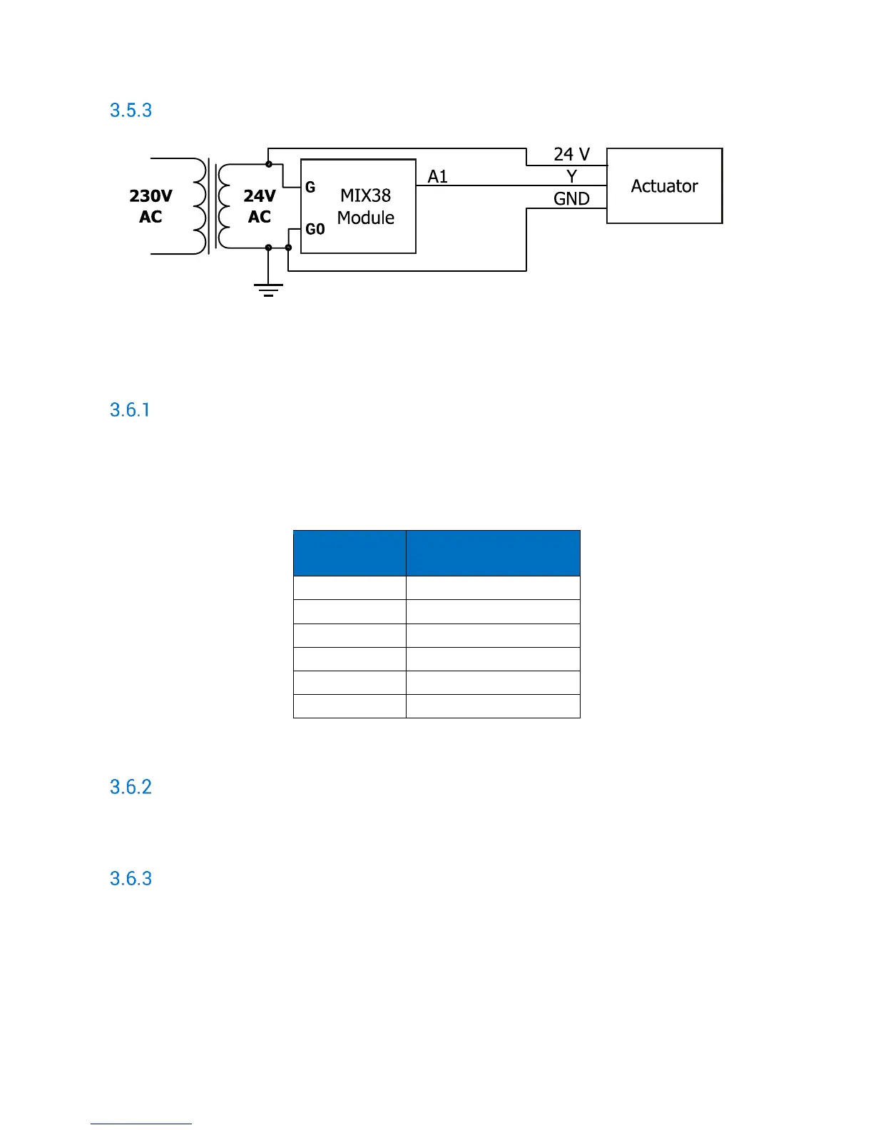
Connection an actuator to Analog Output
Figure 25 Connection an actuator to AO
3.6 Analog Outputs MODBUS Registers
State of Analog Outputs working as Digital Outputs (40019)
Set/setting true value of particular bit of this 16-bit register causes setting maximum output
voltage (10 V) on corresponding output and setting to 0 corresponding register with Analog
Output value (40121 – 40126).
Bits of register correspond to the following Analog Outputs.
No of bit in
register
No of Analog Output
0
1
1
2
2
3
3
4
4
5
5
6
Table 18 AO working as DO for MIX38 and MIX38-IP
Value of the analog outputs 1 – 6 (40121 – 40126)
In these 16-bit registers are stored value in mV of voltage that appears at the Analog Output.
Default state of the analog outputs (digital) (40144)
Setting true value of particular bit of this 16-bits register sets the maximum voltage (10V)
on the corresponding Analog Output after power on or watchdog reset.

Table of Contents

Related product manuals