EasyManua.ls Logo

Itm HOLEMAKER PRO 35 - Page 19

Itm HOLEMAKER PRO 35
26 pages
Print Icon
To Next Page IconTo Next Page
To Next Page IconTo Next Page
To Previous Page IconTo Previous Page
To Previous Page IconTo Previous Page
Loading...
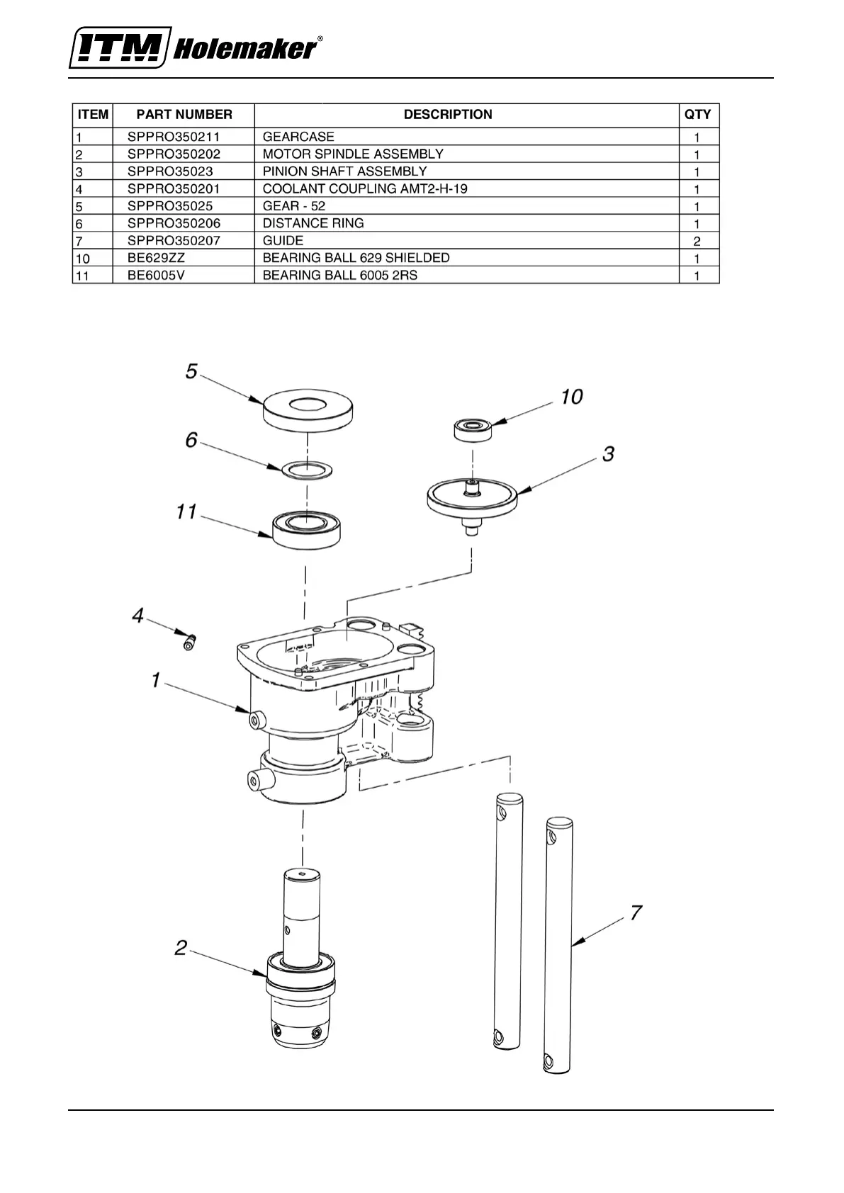
HMPRO35 OPERATOR’S MANUAL
19 www.itmtools.com.au
TRADEMASTER
Magnetic Base Drilling Machines
Tools and Machinery
AIR