EasyManua.ls Logo

jcb 215 - Page 489

jcb 215
890 pages
Print Icon
To Next Page IconTo Next Page
To Next Page IconTo Next Page
To Previous Page IconTo Previous Page
To Previous Page IconTo Previous Page
Loading...
61 - 1
Section E
Hydraulics
9803/3280
Section E
61 - 1
Issue 1
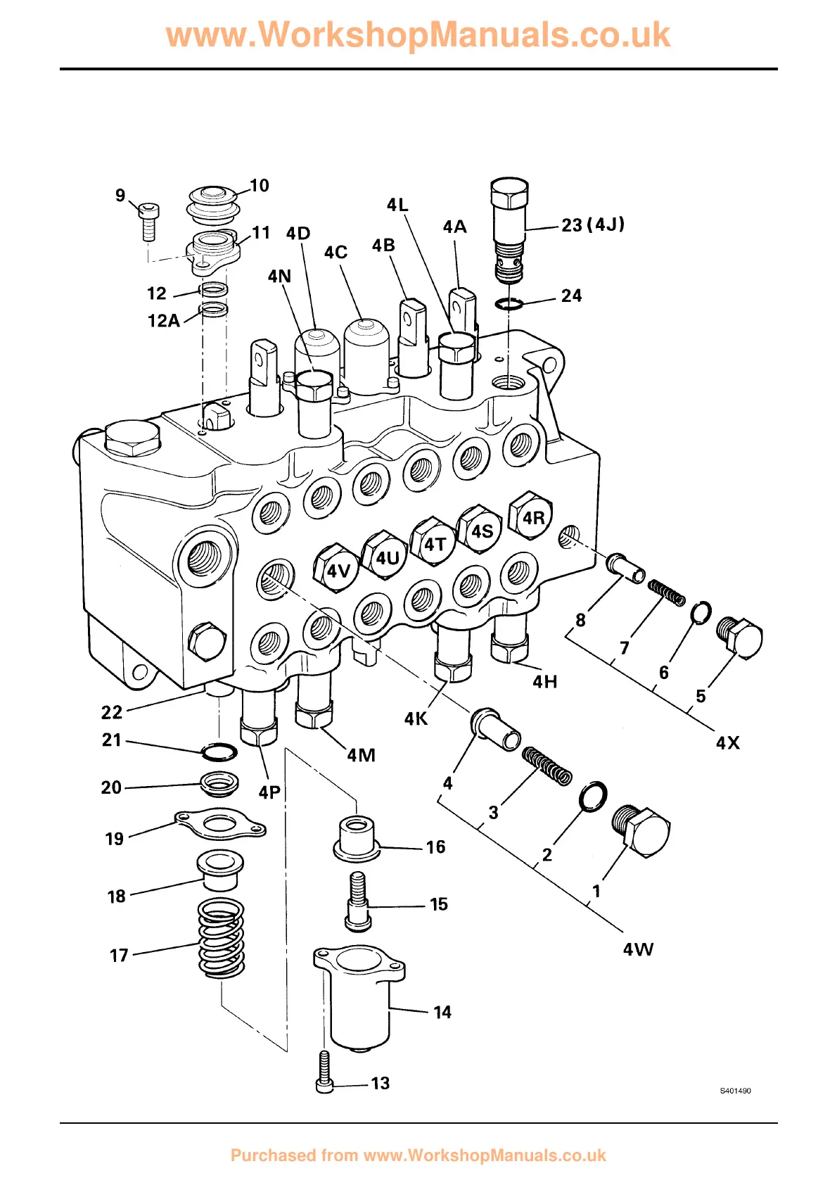
Excavator Valve
www.WorkshopManuals.co.uk
Purchased from www.WorkshopManuals.co.uk

Table of Contents

Other manuals for jcb 215

Related product manuals