EasyManua.ls Logo

jcb JS160 - Technical Data JS160

jcb JS160
533 pages
Print Icon
To Next Page IconTo Next Page
To Next Page IconTo Next Page
To Previous Page IconTo Previous Page
To Previous Page IconTo Previous Page
Loading...
60 - 3
Section E Hydraulics
9803/6410
Section E
60 - 3
Issue 1
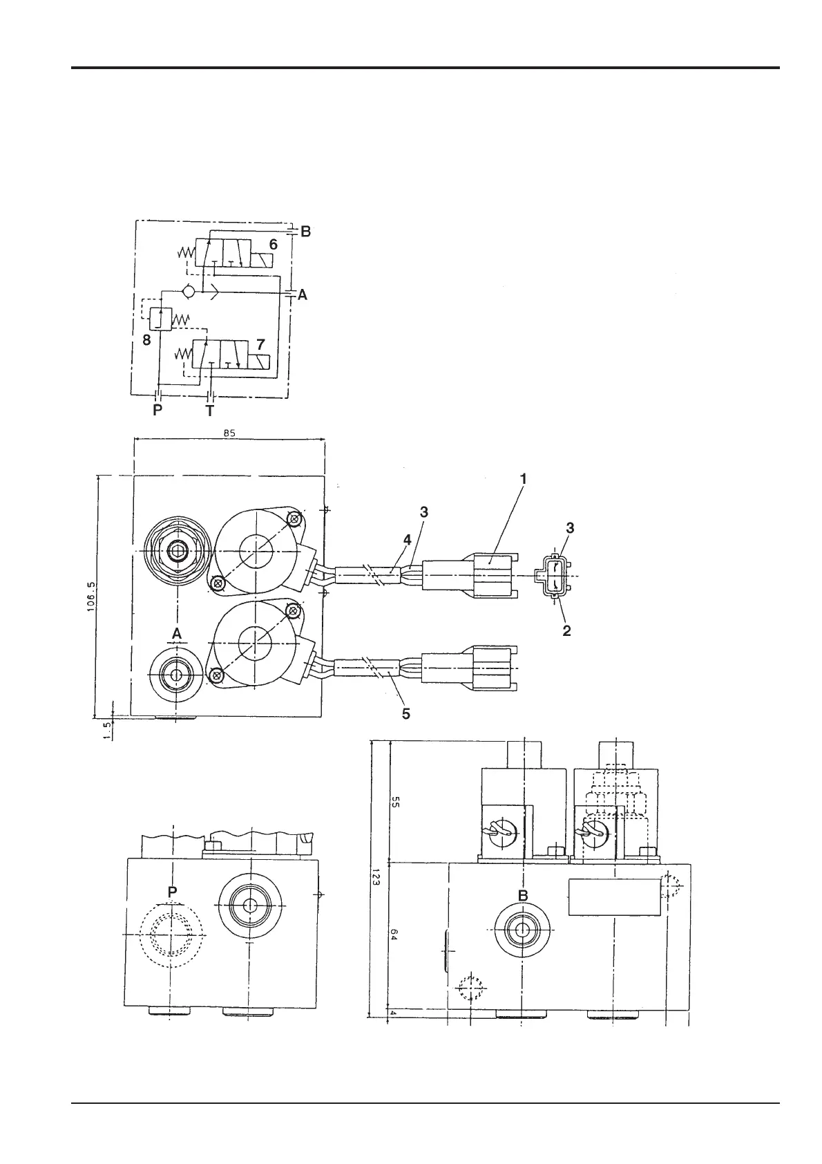
Slew Brake Valve
Technical Data (JS160)
Key
6 Solenoid control valve (slew lock)
7 Solenoid control valve (slew brake)
8 Pressure reducing valve
Key
1 Waterproof, 2 pin electrical contact housing
2 Power source
3 Ground
4 Protective tube (yellow)
5 Protective tube (black)
JS02090

Table of Contents

Related product manuals